์ค์ฐฝ๊ทผ
(Chang Geun Oh)
1
์์ฑํธ
(Seong Ho Son)
2
์ด๋ง์น
(Man Seung Lee)
1*
-
๋ชฉํฌ๋ํ๊ต ๊ณต๊ณผ๋ํ ์ ์์ฌ๊ณตํ๊ณผ
(Department of Advanced Materials Science & Engineering, Institute of Rare Metal, Mokpo
National University, Mokpo 58554, Republic of Korea)
-
ํ๊ตญ์์ฐ๊ธฐ์ ์ฐ๊ตฌ์ ์ธ์ฒ๋ณธ๋ถ
(Korea Institute of Industrial Technology, Incheon Technology Service Centre, Incheon
21999, Republic of Korea)
Copyright ยฉ 2019 The Korean Institute of Metals and Materials
Key words
terbium(III), dysprosium(III), solvent extraction, scrubbing, separation
1. ์ ๋ก
ํฌํ ๋ฅ๋ 3A์กฑ์ธ ์์๊ธฐํธ 21๋ฒ ์ค์นธ๋(Sc), 39๋ฒ ์ดํธ๋ฅจ(Y)์ 57๋ฒ ๋ํ๋(La)์์ 71๋ฒ ๋ฃจํ
ํฌ(Lu)๊น์ง์ ๋ํ๊ณ์ด ์์ 15๊ฐ๋ฅผ
๋ํ 17์์๋ฅผ ์ด์นญํ๋ค [1,2]. ํฌํ ๋ฅ ๊ธ์์ธ ํฐ๋ธ(III)๊ณผ ๋์คํ๋ก์(III)์ ๊ณ ์ฑ๋ฅ ์์์ ์์ฌ๋ก์ ๋ค์ค๋๋ฎด ์์์ ์ฒจ๊ฐํ๋ฉด ๊ณ ์ด์์๋ ์์ฑ์ ์์ง ์๊ธฐ ๋๋ฌธ์ ๋ฐ์ ๊ธฐ๋
์ ๊ธฐ์ฐจ ๋ชจํฐ์ ํจ์จ์ ํฅ์์ํจ๋ค [3]. ์ต๊ทผ ๊ณ ์ฑ๋ฅ ์์์ ์์ ๊ธ์ฆ์ผ๋ก ์๊ด์๊ณผ 2์ฐจ ์์์ผ๋ก๋ถํฐ ๊ณ ์๋ ํฌํ ๋ฅ์ ํ์์ ๋ํ ์ฐ๊ตฌ๊ฐ ๋ง์ด ํํด์ง๊ณ ์๋ค [4]. ์นจ์ถ์ฉ์ก์ผ๋ก๋ถํฐ ํฌํ ๋ฅ์ฑ๋ถ์ ๋ถ๋ฆฌํ๋ ์ต์๋ฒ์๋ ์ด์จ๊ตํ๊ณผ ์ฉ๋งค์ถ์ถ์ด ์๋ค. ์ด์จ๊ตํ๋ฒ์ 1 g/L ์ดํ ์ ๋๋์ ํฌํ ๋ฅ๋ฅผ ๋ถ๋ฆฌํ๋๋ฐ ์ ํฉํ
๋ฐ๋ฉด, ์ฉ๋งค์ถ์ถ๋ฒ์ ๋น๊ต์ ์กฐ์์ด ์ฝ๊ณ ํจ์จ์ฑ์ด ๋์ ์์ฉํ๋์ด ์๋ค [5-7].
๋ฌฝ์ ์ผ์ฐ์ฉ์ก์ ํจ์ ๋ ํฌํ ๋ฅ ๋ถ๋ฆฌ ์ถ์ถ์๋ D2EHPA, PC88A, Cyanex 272 ๋ฑ๊ณผ ๊ฐ์ ์ ๊ธฐ์ธ์ฐ๊ณ ์ถ์ถ์ ๋ฅผ ๊ธฐ๋ฐ์ผ๋ก ํ ๊ณต์ ์ด ์์ฉํ๋์ด
์๋ค. ๊ทธ๋ฌ๋ ์๊ธฐ ์ ๊ธฐ์ธ์ฐ๊ณ ์ถ์ถ์ ์ ์ํ ์ธ์ ํฌํ ๋ฅ ์ฑ๋ถ๊ฐ์ ๋ถ๋ฆฌ์ธ์๊ฐ 2๋ฏธ๋ง์ด๋ฏ๋ก ๋ถ๋ฆฌ์ ๋ง์ ์ถ์ถ๋จ์๊ฐ ํ์ํ๋ค. ๋ํ ์ถ์ถ๊ตฌ๋๋ ฅ์ ์ ์งํ๊ธฐ
์ํด ์ ๊ธฐ์ธ์ฐ๊ณ์ ๋น๋ํ๊ฐ ํ์ํ๋ฏ๋ก ํ๊ฑฐ ํ ๋น๋ํ์ ํ์ํ ์์ฐํ๋ํธ๋ฅจ ๋น์ฉ์ ๊ฐ์ ๊ฐ์ ์ ์ฌ์ง๊ฐ ๋ง๋ค. ์ ๊ธฐ์ธ์ฐ๊ณ ์ถ์ถ์ ์์ ํฌํ ๋ฅ์ฑ๋ถ์ ๋ถ๋ฆฌ์ธ์๋
Cyanex 272 > PC88A > D2EHPA ์์๋ก ๋๋ค [8]. Cyanex 272์ ๊ฒฝ์ฐ ํฌํ ๋ฅ ์์์ ๋ํ ์ ํ ๋ถ๋ฆฌ์ฑ์ ์ฐ์ํ์ง๋ง, ์ถ์ถ ํจ์จ์ด ๋ฎ๊ณ ๊ณ ๊ฐ๋ผ๋ ๋จ์ ์ด ์๋ค. ์ด๋ฌํ ๋จ์ ์ ๊ทน๋ณตํ๊ธฐ ์ํด
3์ฐจ ์๋ฏผ๊ณผ Cyanex 272์ ํผํฉ์ฉ๋งค๋ฅผ ์ฌ์ฉํ ํฌํ ๋ฅ ๋ถ๋ฆฌ์ ๋ํ ์ฐ๊ตฌ๊ฐ ๋ณด๊ณ ๋์ด ์๋ค [9-11]. ํํธ ์์ฉํ ์ถ์ถ์ ์ ๋์ ์ฆ๊ธฐ์, ์ ํ๋ ์ ํ์ฑ, ํ๊ฒฝ์ ์ ํด์ฑ์ ๊ทน๋ณตํ๊ธฐ ์ํ ์ฒญ์ ์ฉ๋งค๋ก ์ด์จ์ฑ์ก์ฒด๊ฐ ์ฃผ๋ชฉ๋ฐ๊ณ ์๋ค. ์ด์จ์ฑ์ก์ฒด๋ ์ผ๋ฐ์ ์ธ
์ ๊ธฐ์ฉ๋งค์ ๋ฌ๋ฆฌ ์ฆ๊ธฐ์์ด ๋ฎ๊ณ ๊ธ์์ด์จ์ ํน์ฑ ๋ง์ถคํ ์ ์กฐ๊ฐ ๊ฐ๋ฅํ์ฌ ์ต๊ทผ ์ด์จ์ฑ์ก์ฒด๋ฅผ ํ์ฉํ ํฌํ ๋ฅ ๋ถ๋ฆฌ์ ๋ง์ ์ฐ๊ตฌ๊ฐ ์ํ๋๊ณ ์๋ค. Padhan๋ฑ์
์ฐ๊ตฌ์ ๋ฐ๋ฅด๋ฉด Nd(III)์ Pr(III) ๋ถ๋ฆฌ์ Cyanex 272์ Alqiuat 336์ผ๋ก ์ ์กฐํ ์ด์จ์ฑ์ก์ฒด๋ฅผ ์ฌ์ฉํ๋ฉด ์ ๊ธฐ์ธ์ฐ์ ๋จ๋
์ผ๋ก
์ฌ์ฉํ ์กฐ๊ฑด์ ๋นํด ๋ถ๋ฆฌ์ธ์๊ฐ ๋ ํฌ๋ค [12,13].
ํฐ๋ธ(III)๊ณผ ๋์คํ๋ก์(III)๊ฐ์ด ์์๋ฒํธ๊ฐ ์ธ์ ํ ๋ ํฌํ ๋ฅ ์ฑ๋ถ์ ์ฉ๋งค์ถ์ถ๋ง์ผ๋ก ๋ถ๋ฆฌํ๊ธฐ ์ํด์๋ ์์ญ๋จ์ ์ถ์ถ๋จ์๊ฐ ํ์ํ๋ค. ํฌํ ๋ฅ ์์๋ฒํธ๊ฐ
์ฆ๊ฐํ ์๋ก ์ด์จ๋ฐ๊ฒฝ์ด ๊ฐ์ํ์ฌ ์ ํ๋ฐ๋๊ฐ ์ฆ๊ฐํ๋ค. ๋ฐ๋ผ์ ํฐ๋ธ(III)๋ณด๋ค๋ ๋์คํ๋ก์(III)์ด ์ ๊ธฐ์ธ์ฐ๊ณ ์ถ์ถ์ ์ ์ถ์ถ๋๋ ค๋ ๊ฒฝํฅ์ด ๊ฐํ๋ค.
์ด๋ฌํ ์ถ์ถ๊ฒฝํฅ์ ์ฐจ์ด๋ฅผ ์ด์ฉํ๋ ์ด์จ๊ตํ๋ฐ์์ ์ผ์ข
์ธ ์ธ์ ๊ณต์ ์ ์ ์ฉํ๋ฉด ๋น๊ต์ ์ ์ ์ถ์ถ๋จ์์ ์ธ์ ๋ง์ผ๋ก ๊ธ์์ ๋ถ๋ฆฌํ๋ ๊ฒ์ด ๊ฐ๋ฅํ๋ค [14,15]. ๊ทธ๋ฌ๋ Cyanex 272๋ฅผ ๊ธฐ๋ฐ์ผ๋ก ํ๋ ์ถ์ถ์ ๋ฅผ ์ฌ์ฉํ์ฌ ํฐ๋ธ(III)๊ณผ ๋์คํ๋ก์(III)์ ์ถ์ถ๊ณผ ์ธ์ ์ ๋ํ ๋ถ๋ฆฌ ์ฐ๊ตฌ๊ฒฐ๊ณผ๋ ๊ฑฐ์ ๋ฐํ๋
๋ฐ ์๋ค.
๋ณธ ๋
ผ๋ฌธ์์๋ ์ผ์ฐ์ฉ์ก์์ ํฐ๋ธ(III)๊ณผ ๋์คํ๋ก์(III)์ ๋ถ๋ฆฌํ๊ธฐ ์ํด Caynex 272๋ฅผ ๊ธฐ๋ฐ์ผ๋ก ํ ์ถ์ถ์ ๋ฅผ ์ฌ์ฉํ์ฌ ๋ถ๋ฆฌ์คํ์ ์ํํ๋ค.
์ฆ, Cyanex 272 ๋จ๋
๊ณผ Alamine 336์ ํผํฉํ ์ถ์ถ์ , Cyanex 272์ Aliquat 336์ผ๋ก ์ ์กฐํ ์ด์จ์ฑ์ก์ฒด(R4NA)๋ฅผ
์ฌ์ฉํ์ฌ ์ฉ์ก์ pH์ ๋ฐ๋ฅธ ๋ ๊ธ์์ ์ถ์ถ๊ณผ ๋ถ๋ฆฌ๊ฑฐ๋์ ์กฐ์ฌํ์๋ค. ์๊ธฐ ์ธ ์ข
๋ฅ ์ถ์ถ์ ๊ฐ์ด๋ฐ ๊ธ์ ์ถ์ถํจ์จ์ด ๊ฐ์ฅ ๋์ ์ด์จ์ฑ์ก์ฒด๋ฅผ ์ฌ์ฉํ์ฌ
์ถ์ถ ๋ฐ ์ธ์ ์ ์ํ ๋ ๊ธ์์ ๋ถ๋ฆฌ์กฐ๊ฑด์ ์กฐ์ฌํ์๋ค. ๋ํ McCabe-Thiele ์ธ์ ๊ณก์ ์ผ๋ก๋ถํฐ ๊ต์ฐจ์(Cross current)์ผ๋ก ๋ค๋จ์ธ์ ์
๋ชจ์ฌํ์ฌ 99%์ด์์ ์๋๋ฅผ ์ง๋ ๋์คํ๋ก์(III)์ฉ์ก์ ์ป์๋ค.
2. ์คํ์ฌ๋ฃ ๋ฐ ์คํ๋ฐฉ๋ฒ
2.1 ์คํ์ฌ๋ฃ
๋ณธ ์คํ์์๋ ๊ณ ์๋์ ์ผํํฐ๋ธ(TbCl3, Alfa aesar, USA, 99.9%)๊ณผ ์ผํ๋์คํ๋ก์(DyCl3, Alfa aesar, USA, 99.9%)์ ์ฆ๋ฅ์์ ์ฉํด์์ผ ๋ ๊ธ์์ด ํจ์ ๋ ํผํฉ์ฉ์ก์ ์ ์กฐํ์๋ค. ํผํฉ์ฉ์ก์ pH๋ฅผ ์กฐ์ ํ๊ธฐ ์ํด ์ผ์ฐ(Daejung
chemicals & metals Co. Ltd., Korea, 35%)๊ณผ ์์ฐํ๋ํธ๋ฅจ(Duksan Co. Ltd., Korea, 93%)์ฉ์ก์ ์ฌ์ฉํ์๋ค.
์ถ์ถ์ ๋ก๋ Cyanex 272(Cytec Inc., USA, 85%)๋ฅผ ์ ํํ์ฌ 3์ฐจ ์๋ฏผ์ธ Alamine 336(BASF Co. Ltd., Germany,
95%)๊ณผ 1:1์ ๋น์จ๋ก ํผํฉํ์ฌ ํผํฉ ์ถ์ถ์ ๋ฅผ ์ค๋นํ์๋ค. ํํธ ์ด์จ์ฑ์ก์ฒด๋ Cyanex 272์ 4์ฐจ ์๋ฏผ์ธ Alaiquat 336(BASF
Co. Ltd., Germany, 93%)์ Fortuny์ ๋ฐฉ๋ฒ์ผ๋ก ์ ์กฐํ์๋ค [16]. ๋ณธ ์คํ์์ ๋ชจ๋ ์์ฝ์ ์ ์ ํ์ง ์๊ณ ๊ทธ๋๋ก ์ฌ์ฉํ๊ณ ๋ฑ์ (Deajung Chemicals & Metals Co. Ltd., Korea, 100%)๋ฅผ
ํฌ์์ ๋ก ์ฌ์ฉํ์๋ค.
2.2 ์คํ๋ฐฉ๋ฒ
ํฐ๋ธ(III)๊ณผ ๋์คํ๋ก์(III)์ ๋๋๊ฐ ๊ฐ๊ฐ 100 mg/L์ธ ํผํฉ์ฉ์ก์ ์ถ์ถ์คํ์ ์ฌ์ฉํ์๋ค. ์์๊ณผ ์ ๊ธฐ์์ ๋ถํผ๊ฐ ๋์ผํ ์กฐ๊ฑด์์ ๋ ์์
ํผํฉ๋ฌผ์ ๋ถ์ก์ฌ๋์ ๋ฃ๊ณ ์์จ์์ wrist action shaker๋ฅผ ์ด์ฉํ์ฌ 30๋ถ๊ฐ ๊ต๋ฐํ ๋ค 30๋ถ๊ฐ ์ ์นํ์ฌ ์์๊ณผ ์ ๊ธฐ์์ ๋ถ๋ฆฌํ์๋ค.
์ถ์ถ๋ฐ์ ์ ํ ์์์ pH๋ pH๋ฏธํฐ(pH Meter, Orion Star A211, Thermo Fisher Scientific, USA)๋ก ์ธก์ ํ๋ค.
์ถ์ถ๋ฐ์ ํ ์์์ ์กด์ฌํ๋ ํฐ๋ธ(III)๊ณผ ๋์คํ๋ก์(III)์ ๋๋๋ ICP(Inductively Coupled Plasma-Optical Emission
Spectormeter, Acros, Spectro, Germany)๋ก ๋ถ์ํ์๊ณ , ์ ๊ธฐ์์ผ๋ก ์ถ์ถ๋ ๊ธ์ ๋๋๋ ๋ฌผ์ง์์ง๋ก ๊ตฌํ๋ค. ๊ธ์์ ์ถ์ถ์จ(Extraction
percentage)๊ณผ ๋ถ๋ฆฌ์ธ์(Separation factor)๋ ๊ฐ๊ฐ ๋ค์ ์์ผ๋ก ๊ณ์ฐํ์๋ค [17].
์๊ธฐ ์์์ mini๋ ์ด๊ธฐ ์์์์ ๊ธ์์ ์ง๋์, meq๋ ํํ ์ํ์์ ์์ ๋ด ๊ธ์ ์ง๋์ ๋ํ๋ธ๋ค. ๋ถ๋ฆฌ์ธ์์์ DDy(III)์ DTb(III)๋ ๋์คํ๋ก์(III)์ ํฐ๋ธ(III)์ ๋ถ๋ฐฐ๊ณ์(Distribution coefficient)๋ฅผ ๋ํ๋ธ๋ค.
3. ๊ฒฐ๊ณผ ๋ฐ ๊ณ ์ฐฐ
3.1 ํฐ๋ธ(III)๊ณผ ๋์คํ๋ก์(III)์ ์ฉ๋งค์ถ์ถ์ ๋ํ ๋ฏธ์น๋ ํํ pH ์ํฅ
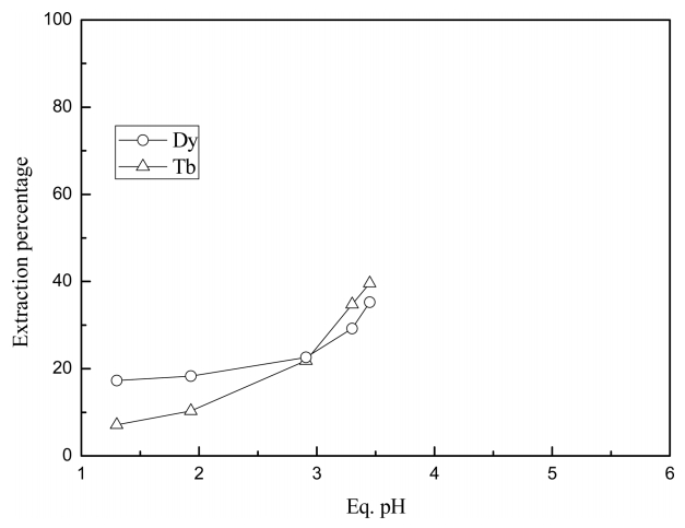
Cyanex 272๋ฅผ ๊ธฐ๋ฐ์ผ๋ก ํ ์ถ์ถ์ ๋ฅผ ์ฌ์ฉ์ ํํ pH์ ๋ฐ๋ฅธ ํฐ๋ธ(III)๊ณผ ๋์คํ๋ก์(III)์ ์ถ์ถ ๋ฐ ๋ถ๋ฆฌ๊ฑฐ๋์ ์กฐ์ฌํ๋ค. ์ด๋ฌํ ๋ชฉ์ ์
์ํด ๋ ๊ธ์์ด์จ์ด ํผํฉ๋ ์ผ์ฐ์ฉ์ก์ ์ด๊ธฐ pH๋ฅผ 1.5๋ถํฐ 5๊น์ง ๋ณํ์์ผ Cyanex 272 ๋จ๋
, Cyanex 272์ Alamine 336์
ํผํฉ์ถ์ถ์ (R3NHA)์ Aliquat 336์ผ๋ก ์ ์กฐํ ์ด์จ์ฑ์ก์ฒด(R4NA)๋ก ์คํ์ ์ํํ๋ค. ๋ณธ ๋
ผ๋ฌธ์ ๋ชจ๋ ์คํ์์ ํฐ๋ธ(III)๊ณผ ๋์คํ๋ก์(III)์ ๋๋๊ฐ ๊ฐ๊ฐ 100 mg/L์ธ ํผํฉ์ฉ์ก์ ์ฌ์ฉํ์๋ค. ํฌํ ๋ฅ๊ธ์
๋๋๋ฅผ ๊ฐ์ํ์ฌ ์ถ์ถ์ ๋๋๋ ๋ชจ๋ 0.003 M๋ก ๊ณ ์ ์์ผฐ์ผ๋ฉฐ ์คํ๊ฒฐ๊ณผ๋ฅผ ๊ทธ๋ฆผ 1, 2, 3์ ๋ํ๋๋ค. Cyanex 272๋ฅผ ๋จ๋
์ผ๋ก ์ฌ์ฉ์ ๊ฒฐ๊ณผ์ธ ๊ทธ๋ฆผ 1์ ์ํ๋ฉด ํํ pH๊ฐ ์ฆ๊ฐํจ์ ๋ฐ๋ผ ํฐ๋ธ(III)๊ณผ ๋์คํ๋ก์(III)์ ์ถ์ถ๋ฅ ์ด ๊ฐ๊ฐ 10%์์ 40%, 20%์์ 38%๊น์ง ์ฆ๊ฐํ์๋ค. ํํ
pH๊ฐ 3์ดํ์ ์กฐ๊ฑด์์๋ ๋์คํ๋ก์(III)์ ์ถ์ถ๋ฅ ์ด ํฐ๋ธ(III)์ ์ถ์ถ๋ฅ ๋ณด๋ค ์ฝ๊ฐ ๋์์ผ๋, ๊ทธ ์ด์์ ์กฐ๊ฑด์์๋ ํฐ๋ธ(III)์ ์ถ์ถ๋ฅ ์ด
๋ฏธ์ธํ๊ฒ ๋์๋ค. ์ผ๋ฐ์ ์ผ๋ก ํฌํ ๋ฅ ๊ธ์์ด์จ์ ์์๋ฒํธ๊ฐ ์ฆ๊ฐํ ์๋ก ์ด์จ๋ฐ๊ฒฝ์ด ๊ฐ์ํ์ฌ ์ ํ๋ฐ๋๊ฐ ์ฆ๊ฐํ๋ฏ๋ก ๋์คํ๋ก์(III)์ด ํฐ๋ธ(III)๋ณด๋ค
์ถ์ถ๋ฅ ์ด ๋ ๋์์ผ ํ๋ค. ๊ทธ๋ฆผ 1๊ณผ ๊ฐ์ด ํํ pH 3์ด์์ ์กฐ๊ฑด์์ ํฐ๋ธ(III)์ ์ถ์ถ๋ฅ ์ด ๋์คํ๋ก์(III)์ ์ถ์ถ๋ฅ ๋ณด๋ค ์ฝ๊ฐ ํฐ ๊ฒ์ ์ด๋ฌํ ์กฐ๊ฑด์์๋ ์ด์จ๋ฐ๊ฒฝ์ ์ฆ๊ฐ์ ๋ฐ๋ฅธ
์ ํ๋ฐ๋์ ์ํฅ์ด ์๋ค๊ณ ์๊ฐํ ์ ์๋ค. ๋ฐ๋ผ์ Cyanex 272๋ฅผ ๋จ๋
์ผ๋ก ์ฌ์ฉํ ์กฐ๊ฑด์์ ๋ ๊ธ์์ ๋ถ๋ฆฌ๋ ๋งค์ฐ ์ด๋ ต๋ค๋ ๊ฒ์ ๊ทธ๋ฆผ 1์์ ์ ์ ์๋ค. Cyanex 272์ ์ํ ํฌํ ๋ฅ์์์ ์ถ์ถ ๋ฐ์์ ๋ค์๊ณผ ๊ฐ์ด ๋ํ๋ผ ์ ์๋ค [5-7].
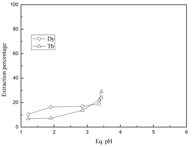
์๊ธฐ ์์์ (HA)2๋ Cyanex 272์ ์คํฉ์ฒด๋ฅผ ๋ํ๋ธ๋ค. Cyanex 272์ Alamine 336์ ํผํฉ์ถ์ถ์ ์ ์ํ ์คํ ๊ฒฐ๊ณผ๋ฅผ ๊ทธ๋ฆผ 2์ ๋ํ๋๋ค. ํผํฉ์ถ์ถ์ ์์ ๋ ์ถ์ถ์ ์ ๋๋๋ 0.003 M๋ก ๋์ผํ์๋ค. ๊ทธ๋ฆผ 1๊ณผ 2๋ฅผ ๋น๊ตํ๋ฉด ํํ pH์ ์ฆ๊ฐ์ ๋ฐ๋ฅธ ํฐ๋ธ(III)๊ณผ ๋์คํ๋ก์(III)์ ์ถ์ถ๋ฅ ์ ์ฆ๊ฐ์จ์ Cyanex 272๋ฅผ ๋จ๋
์ผ๋ก ์ฌ์ฉํ ์กฐ๊ฑด์ด ํผํฉ์ถ์ถ์
์กฐ๊ฑด๋ณด๋ค ์ปธ๋ค. ์ด๋ Cyanex 272์ Alamine 336์ ํผํฉ์ถ์ถ์ ์์๋ Alamine 336์ ์ํ ์์์ด์จ์ ์ถ์ถ๋ก ํํ pH 3์ด์์
์กฐ๊ฑด์์ ๋ ๊ธ์์ ์ถ์ถ์ ํฐ ์ํฅ์ ๋ฏธ์น๊ธฐ ๋๋ฌธ์ผ๋ก ์๊ฐ๋๋ค. ํํธ Cyanex 272์ ํผํฉ์ถ์ถ์ ๋ฅผ ์ฌ์ฉํ ์กฐ๊ฑด์์ ํํ pH 3์ด์์ธ ์กฐ๊ฑด์์
ํฐ๋ธ(II)์ ์ถ์ถ๋ฅ ์ด ๋์คํ๋ก์(III)์ ์ถ์ถ๋ฅ ๋ณด๋ค ์ฝ๊ฐ ๋์๋ค.
์ ํ ์ฐ๊ตฌ๊ฒฐ๊ณผ์ ์ํ๋ฉด Cyanex 272์ Alamine 336์ ํผํฉํ ์ถ์ถ์ ๋ก ํฌํ ๋ฅ์ฑ๋ถ์ ์ถ์ถ์ ์์นํจ๊ณผ๊ฐ ๋ํ๋ฌ์ผ๋ฉฐ, ์์นํจ๊ณผ๋ ํผํฉ์ถ์ถ์ ์
์กฐ์ฑ์ ์์กดํ๋ค [18,19]. ๋ณธ ์คํ ๊ฒฐ๊ณผ์์ Alamine 336์ Caynex 272์ ํผํฉํ๋๋ผ๋ ํฐ๋ธ(III)๊ณผ ๋์คํ๋ก์(III)์ ์ถ์ถ์ ์์นํจ๊ณผ๊ฐ ๋ํ๋์ง ์๋
๊ฒ์ ํผํฉ์ถ์ถ์ ์ ์กฐ์ฑ๊ณผ ๊ด๋ จ ์๋ค. Cyanex 272๋ ์ฝ์ฐ์ด๊ณ Alamine 336์ ์ฝ์ผ๊ธฐ์ด๋ฏ๋ก ํผํฉ์ถ์ถ์ ์์ ์ฐ-์ผ๊ธฐ ๋ฐ์์ ์ํด ์ผ์ด ์์ฑ๋
์ ์๋ค. ์ด์ ๊ฐ์ด ์ผ์ด ์์ฑ๋๋ ๊ฒฝ์ฐ ์ถ์ถ๋ฐ์์ ์ฐธ์ฌํ ์ ์๋ ์ ํจ Cyanex 272์ ๋๋๊ฐ ๊ฐ์ํ ๋ฟ ์๋๋ผ ์์์ด์จ๊ณผ ๋ฐ์ํ์ฌ ํํ pH์
๊ฐ์๋ฅผ ์ต์ ์ํฌ ์ ์๋ Alamine 336์ ์ ํจ๋๋๋ ๊ฐ์ํ๋ค. ๋ฐ๋ผ์ ์ด๋ฌํ ์กฐ๊ฑด์์๋ Alamine 336์ ํผํฉํ๋๋ผ๋ ํฐ๋ธ(III)๊ณผ
๋์คํ๋ก์(III)์ ์ถ์ถ์ ์์นํจ๊ณผ๊ฐ ๋ํ๋์ง ์๋๋ค.
Cyanex 272์ Aliquat 336์ผ๋ก ์ ์กฐํ ์ด์จ์ฑ์ก์ฒด์ ์ํ ์ถ์ถ๊ฒฐ๊ณผ๋ฅผ ๊ทธ๋ฆผ 3์ ๋ํ๋๋ค. ํํ pH 3์ดํ์์๋ ๋ ๊ธ์์ด ๊ฑฐ์ ์ถ์ถ๋์ง ์์ ๋ฐ๋ฉด ํํ pH 4 ์ด์์์ ๋ ๊ธ์์ ์ถ์ถ์จ์ด ๊ธ๊ฒฉํ๊ฒ ์ฆ๊ฐํ๋ค. ๋ํ ์ด์จ์ฑ์ก์ฒด์์๋
ํํ pH๊ฐ ์ด๊ธฐ pH์ ๋นํด ๋ชจ๋ ์ฆ๊ฐํ๋ค. ์ด์จ์ฑ ์ก์ฒด์ ์ํ ํฌํ ๋ฅ์ด์จ๊ณผ ์ผ์ฐ์ ์ถ์ถ๋ฐ์์ ๋ค์๊ณผ ๊ฐ์ด ๋ํ๋ผ ์ ์๋ค [16].
ํํ pH๊ฐ 3 ์ดํ์ ์กฐ๊ฑด์์ ํฐ๋ธ(III)๊ณผ ๋์คํ๋ก์(III)์ด ๊ฑฐ์ ์ถ์ถ๋์ง ์๋ ๊ฒ์ ์ด์จ์ฑ์ก์ฒด๊ฐ ํฐ๋ธ(III)๊ณผ ๋์คํ๋ก์(III)์ ์ถ์ถํ์ง
์๊ณ ์์์ด์จ์ ์ ํ์ ์ผ๋ก ์ถ์ถํ๋ ๊ฒ๊ณผ ๊ด๋ จ ์๋ค [16]. ์ด์จ์ฑ์ก์ฒด๋ฅผ ์ฌ์ฉ์์๋ ํฐ๋ธ(III)๊ณผ ๋์คํ๋ก์(III)์ ํํ pH์ ๋ฐ๋ฅธ ์ถ์ถ๋ฅ ์ ์ ์ฌํ๋ฏ๋ก ๋จ์ํ ์ถ์ถ๋ง์ผ๋ก ๋ ๊ธ์์ ๋ถ๋ฆฌํ๊ธฐ๋ ๋งค์ฐ
์ด๋ ต๋ค. ๊ทธ๋ฌ๋ Cyanex 272๋ฅผ ๋จ๋
๋๋ Alamine 336๊ณผ์ ํผํฉ์ถ์ถ์ ๋ก ์ฌ์ฉํ๋ ์กฐ๊ฑด์ ๋นํด ์ด์จ์ฑ์ก์ฒดํํ๋ก ์ฌ์ฉํ๋ ๊ฒฝ์ฐ ๋ ๊ธ์์
์ถ์ถ๋ฅ ์ด 80%๊น์ง ์ฆ๊ฐํ์ฌ ๋ ๋์ ์ถ์ถ๋ฅ ์ ์ป์๋ค.
Cyanex 272 ๋จ๋
, Alamine 336๊ณผ์ ํผํฉ์ถ์ถ์ , Aliquat 336๊ณผ์ ์ด์จ์ฑ์ก์ฒด ํํ๋ก ์ฌ์ฉ์ ํฐ๋ธ(III)๊ณผ ๋์คํ๋ก์(III)๊ฐ์
ํํ pH์ ๋ฐ๋ฅธ ๋ถ๋ฆฌ์ธ์์ ๋ณํ๋ฅผ ๊ทธ๋ฆผ 4์ ๋ํ๋๋ค. Cyanex 272์ Alamine 336๋ก ํผํฉํ ์ถ์ถ์ ์์๋ ํํ pH 2.8์์ ๋ถ๋ฆฌ์ธ์๊ฐ 1.2๋ก ๊ฐ์ฅ ๋์์ผ๋, ์ด์จ์ฑ์ก์ฒด์
๊ฒฝ์ฐ ํํ pH 3.8์์ ๋ถ๋ฆฌ์ธ์๊ฐ 2.8๋ก ๊ฐ์ฅ ๋์๋ค. Cyanex 272์ ์ธ ํํ์์ ํฌํ ๋ฅ์ฑ๋ถ์ ์ถ์ถ๋ฅ ์ Cyanex 272 + Aliquat
336 > Cyanex 272 > Cyanex 272 + Alamien 336 ์์ผ๋ก ๋์๋ค. ์ ๊ธฐ์ธ์ฐ๊ณ ์ถ์ถ์ ๋ฅผ ์ฌ์ฉํ๋ ๊ฒฝ์ฐ ์์์ ํฐ๋ธ(III)๊ณผ
๋์คํ๋ก์(III)์ด ์ถ์ถ์ ์ ์์์ด์จ๊ณผ ๊ตํ๋์ด ์ ๊ธฐ์์ผ๋ก ์ถ์ถ๋๋ค. ์ด๋ ์ถ์ถ์ ๋ก๋ถํฐ ์์์ผ๋ก ์ด๋ํ ์์์ด์จ์ ์ํด ํํ pH๊ฐ ๋ฎ์์ง๋ฏ๋ก ์ถ์ถ๊ตฌ๋๋ ฅ์ด
๊ฐ์ํ์ฌ ์ถ์ถ๋ฅ ์ด ์๋ค. ์์์์ ์์์ด์จ์ ๊ฐ์ฅ ๊ฐ๋ ฅํ ์ฐ(acid)์ด๋ฏ๋ก ์ผ๊ธฐ์ฑ์ธ ์ด์จ์ฑ์ก์ฒด์ ์์ด์จ๊ณผ ์ฐ-์ผ๊ธฐ ๋ฐ์์ ํ๋ ค๋ ๊ฒฝํฅ์ด ๋งค์ฐ ๊ฐํ๋ค.
๋ฐ๋ผ์ ํฌํ ๋ฅ ๊ธ์์ด์จ๋ฟ ์๋๋ผ ์์์ด์จ๋ ์ด์จ์ฑ์ก์ฒด์ ์ถ์ถ๋๋ฏ๋ก ํํ pH๊ฐ ์ฆ๊ฐํ์ฌ ์ถ์ถ๊ตฌ๋๋ ฅ์ด ์ ์ง๋๋ฉด์ ์ถ์ถ๋ฅ ๋ ๋๋ค. ๋ถ๋ฆฌ์ธ์ ์ญ์ ์ด์จ์ฑ์ก์ฒด๊ฐ
๊ฐ์ฅ ๋์์ผ๋ฏ๋ก ์ด์จ์ฑ์ก์ฒด๋ฅผ ์ฌ์ฉํ์ฌ ์ถ๊ฐ์คํ์ ์งํํ๋ค.
3.2 ์ด์จ์ฑ์ก์ฒด์ ์ถ์ถ๋ ํฐ๋ธ(III)๊ณผ ๋์คํ๋ก์(III)์ ์ธ์ ์ ์ํ ๋ถ๋ฆฌ
๋ณธ ์คํ์์๋ ์ฌ์ฉํ Cyanex 272์ ์ธ ํํ์ค์์ ์ด์จ์ฑ์ก์ฒด๊ฐ ์ถ์ถ๋ฅ ์ด ๊ฐ์ฅ ๋์์ง๋ง ๋ถ๋ฆฌ ์ธก๋ฉด์์๋ ํฐ ํจ๊ณผ๊ฐ ์์๋ค. ๋ฐ๋ผ์ ์ด๋ฌํ ์กฐ๊ฑด์์๋
ํฐ๋ธ(III)๊ณผ ๋์คํ๋ก์(III)์ ๋ชจ๋ ์ถ์ถํ ๋ค์ ์ธ์ ์ผ๋ก ๋ถ๋ฆฌํ๋ ๊ฒ์ด ํจ๊ณผ์ ์ผ ์ ์๋ค. ๋ฐ๋ผ์ ์ธ์ ์ ์ํ ๋ ๊ธ์์ ๋ถ๋ฆฌ๊ฑฐ๋์ ์กฐ์ฌํ๋ค.
๋จผ์ ๋ ๊ธ์์ด ์ถ์ถ๋ ์ ๊ธฐ์์ ์ค๋นํ๊ธฐ ์ํด ์ด๊ธฐ pH๊ฐ 5์ธ ํฌํ ๋ฅ ํผํฉ์ฉ์ก์ 0.003 M์ ์ด์จ์ฑ์ก์ฒด๋ก ์ถ์ถํ์๋ค. ์ด๋ ํฐ๋ธ(III)๊ณผ ๋์คํ๋ก์(III)์
์ถ์ถ๋ฅ ์ ๊ฐ๊ฐ 83%๊ณผ 86%๋ก ์ ๊ธฐ์์์ ๋ ๊ธ์์ ๋๋๋ 83 mg/L๊ณผ 86 mg/L์ด์๋ค. ํฐ๋ธ(III)๋ณด๋ค๋ ๋์คํ๋ก์(III)์ด ์ ํ๋ฐ๋๊ฐ
ํฌ๋ฏ๋ก ์ธ์ ์ก์ผ๋ก ๋์คํ๋ก์(III)์ ๋๋๋ฅผ 100 mg/L์์ 1000 mg/L๊น์ง ๋ณํ์์ผ ์ธ์ ์ก๊ณผ ์ ๊ธฐ์์ ๋ถํผ๊ฐ ๋์ผํ ์กฐ๊ฑด์์ ์ธ์ ์คํํ
๊ฒฐ๊ณผ๋ฅผ ๊ทธ๋ฆผ 5์ ๋ํ๋๋ค. ๋ํ ์ธ์ ์ก์์ ๋์คํ๋ก์(III)์ ๋๋์ ๋ฐ๋ฅธ ํฐ๋ธ(III)์ ์ธ์ ์จ ๋ฐ ๋์คํ๋ก์(III)์ ์๋ ๋ณํ๋ฅผ ํ 1์ ๊ฐ์ด ๋ํ๋๋ค. ์ธ์ ์ก์์ ๋์คํ๋ก์(III)์ ๋๋๊ฐ 100 mg/L์์ 1000 mg/L์ผ๋ก ์ฆ๊ฐํจ์ ๋ฐ๋ผ ํฐ๋ธ(III)์ ์ธ์ ์จ์ 2.9%์์
26.5%๋ก ์ฆ๊ฐํ์๋ค. ํํธ ์ด์จ์ฑ์ก์ฒด์์์ ๋์คํ๋ก์(III)๋๋๋ 93 mg/L์์ 210 mg/L๊น์ง ์ฆ๊ฐํ์ฌ ์๋๊ฐ 52.3%์์ 77.4%๊น์ง
์ฆ๊ฐํ๋ค. ๋ณธ ์ธ์ ์คํ์์ ์ผ์ด๋๋ ๋ฐ์์ ๋ค์์ ๋ํ๋๋ค.
ํฐ๋ธ(III)๊ณผ ๋์คํ๋ก์(III)์ ๋ถ๋ฆฌํ๋ ๋ฐ ํ์ํ ์ธ์ ๋จ์๋ฅผ ๊ตฌํ๊ธฐ ์ํด McCabe-Thiele ์ธ์ ๊ณก์ ์ ๊ตฌํ๋ค. ์ด๋ฌํ ๋ชฉ์ ์ ์ํด ํฐ๋ธ(III)๊ณผ
๋์คํ๋ก์(III)์ด ์ถ์ถ๋ 0.003 M์ ์ด์จ์ฑ์ก์ฒด์ ๋์คํ๋ก์(III)์ ๋๋๊ฐ 1000 mg/L์ธ ์ธ์ ์ก์ ๋ถํผ๋น๋ฅผ 7๋ถํฐ 1/5๊น์ง ๋ณํ์์ผฐ๋ค.
๋ณธ ์คํ์์ ๊ตฌํ McCabe-Thiele ์ธ์ ๊ณก์ ์ ๊ทธ๋ฆผ 6์ ๋ํ๋๋ค. ์ด์จ์ฑ์ก์ฒด์์ ํฐ๋ธ(III)์ ๋๋๊ฐ 83 mg/L์ธ ๊ฒฝ์ฐ ์ด์จ์ฑ์ก์ฒด์ ์ธ์ ์ก์ ๋ถํผ๋น(O/A)๊ฐ 2์ธ ์กฐ๊ฑด์์ 5๋จ์ ์ธ์ ์ ํํ๋ฉด
์ ๊ธฐ์์ ํจ์ ๋ ํฐ๋ธ(III)์ 99% ์ด์ ์ธ์ ํ๋ ๊ฒ์ด ๊ฐ๋ฅํ๋ค.
3.3 ๋ค๋จ์ ์ธ์ ์คํ
๊ทธ๋ฆผ 6์ McCabe-Thiele์ธ์ ๊ณก์ ์ ์ํ๋ฉด ์ ์ด๋ 5๋จ ์ด์์ ์ธ์ ์ ํํด์ผ ํฐ๋ธ(III)์ด 83 mg/L์ด ํจ์ ๋ ์ด์จ์ฑ์ก์ฒด๋ก๋ถํฐ ํฐ๋ธ(III)์
๋์คํ๋ก์(III)์ผ๋ก ์ธ์ ํ๋ ๊ฒ์ด ๊ฐ๋ฅํ๋ค. 5๋จ ์ด์์ ์ญ๋ฅ์(Counter-current)์ผ๋ก ๋ชจ์ฌ ์คํํ๋ ๊ฒ์ ์ด๋ ค์ฐ๋ฏ๋ก ๋ณธ ๋
ผ๋ฌธ์์๋
๊ต์ฐจ์ ์ธ์ ๋ฐฉ๋ฒ์ผ๋ก ์ธ์ ๋จ์์ ๋ฐ๋ฅธ ํฐ๋ธ(III)์ ์ธ์ ์จ๊ณผ ์ด์จ์ฑ์ก์ฒด์์ ๋์คํฌ๋ฅด์(III)์ ์๋ ๋ณํ๋ฅผ ์กฐ์ฌํ์๋ค. ๊ต์ฐจ์(Cross-current)
์ธ์ ๋ฐฉ๋ฒ์ ํ๋ถ์ ์คํ์ ์ฐ์์ ์ผ๋ก ํํ๋ ๋ฐฉ๋ฒ์ผ๋ก ์ธ์ ์ก๊ณผ ์ ๊ธฐ์์ ์ ์ด๋ฐฉ๋ฒ์ ๊ทธ๋ฆผ 8์ ๋ํ๋๋ค. ๊ธ์์ด์จ์ด ์ถ์ถ๋ ์ ๊ธฐ์์ ์ธ์ ์ก์ผ๋ก ์ธ์ ํ ์ ๊ธฐ์์ ๋ค์ ์๋ก์ด ์ธ์ ์ก์ผ๋ก ์ธ์ ํ์ฌ ๋ ๊ธ์์ ๋ถ๋ฆฌ์ฑ์ ํฅ์์ํจ๋ค. ๋จผ์ ํฌํ ๋ฅ์ด์จ์
๋๋๊ฐ 100 mg/L์ธ ์ผ์ฐ ํผํฉ์ฉ์ก์ ์ด๊ธฐ pH๋ฅผ 5๋ก ์กฐ์ ํ์ฌ 0.003 M์ ์ด์จ์ฑ์ก์ฒด๋ก ์ถ์ถํ์ฌ ์ ๊ธฐ์์ ์ค๋นํ์๋ค. ์ด๋ ์ด์จ์ฑ์ก์ฒด์ ํฐ๋ธ(III)์
83%, ๋์คํ๋ก์(III)์ 86% ์ถ์ถ๋์๋ค. 1000 mg/L์ ๋์คํ๋ก์(III)์ฉ์ก์ผ๋ก 6๋จ๊น์ง ๊ต์ฐจ์์ผ๋ก ์ธ์ ์ ์ธ์ ๋จ์์ ๋ฐ๋ฅธ ์คํ๊ฒฐ๊ณผ๋ฅผ
๊ทธ๋ฆผ 7์ ๋ํ๋๋ค. ์ธ์ ๋จ์๊ฐ 6๋จ์ผ๋ก ์ฆ๊ฐํจ์ ๋ฐ๋ผ ํฐ๋ธ(III)์ ์ธ์ ์จ์ 24%์์ 95%๊น์ง ์ฆ๊ฐํ์ผ๋ฉฐ, ์ด์จ์ฑ์ก์ฒด์์ ๋์คํ๋ก์(III)์ ๋๋๋
686 mg/L๊น์ง ์ฆ๊ฐํ์๋ค. 6๋จ์ ๊ต์ฐจ์ ์ธ์ ํ ์ ๊ธฐ์์๋ 3.2 mg/L์ ํฐ๋ธ(III)์ด ์์กดํ์ฌ ์ด์จ์ฑ์ก์ฒด์์ ๋์คํ๋ก์(III)์ ์๋๋
99.5%์ ๋๋ฌํ์๋ค. ๋ฐ๋ผ์ Cyanex 272์ Aliquat 336์ผ๋ก ์ ์กฐํ ์ด์จ์ฑ์ก์ฒด๋ฅผ ์ถ์ถ์ ๋ก ์ฌ์ฉํ๋ ๊ฒฝ์ฐ ํฐ๋ธ(III)๊ณผ ๋์คํ๋ก์(III)์
๋ชจ๋ ์ถ์ถํ ๋ค์ ๋์คํ๋ก์(III)์ฉ์ก์ ์ธ์ ์ก์ผ๋ก ์ฌ์ฉํ๋ฉด ๊ต์ฐจ์ ์ธ์ ์ ๊ฒฝ์ฐ 6๋จ์์ 99%์ด์์ ์๋๋ฅผ ์ง๋ ๋์คํ๋ก์(III)์ด ํจ์ ๋ ์ด์จ์ฑ์ก์ฒด๋ฅผ
์ป์ ์ ์๋ค. ์ด์จ์ฑ์ก์ฒด๋ก๋ถํฐ ๋์คํ๋ก์(III)์ ํ๊ฑฐํ์ฌ ์์ํ ๋์คํ๋ก์(III) ํํฉ๋ฌผ์ ์ ์กฐํ ์ ์๋ค.
4. ๊ฒฐ ๋ก
์ผ์ฐ์ฉ์ก์์ ํฐ๋ธ(III)๊ณผ ๋์คํ๋ก์(III)์ ๋ถ๋ฆฌํ๊ธฐ ์ํด ์ฉ๋งค์ถ์ถ์คํ์ ์ํํ๋ค. ๋ณธ ๋
ผ๋ฌธ์์๋ ์ ๊ธฐ์ธ์ฐ๊ณ ์ถ์ถ์ ์ธ Cyanex 272๋ฅผ ์ ํํ์ฌ
Cyanex 272 ๋จ๋
, Alamine 336๊ณผ ํผํฉ์ถ์ถ์ ๊ทธ๋ฆฌ๊ณ Aliquat 336์ผ๋ก ์ ์กฐํ ์ด์จ์ฑ์ก์ฒด๋ฅผ ์ฌ์ฉํ์ฌ ์ฉ์ก์ pH์ ๋ฐ๋ฅธ ๋ ๊ธ์์
์ถ์ถ๋ฅ ๊ณผ ๋ถ๋ฆฌ๊ฑฐ๋์ ์กฐ์ฌํ์๋ค. ๋ ๊ธ์์ด ํผํฉ๋ ์ผ์ฐ์ฉ์ก์ ์ด๊ธฐ pH 1.5์์ 5์ฌ์ด์ ๋ฒ์์์ ์๊ธฐ ์ธ Cyanex 272 ๊ธฐ๋ฐ ์ถ์ถ์ ์ ์ํ
ํฐ๋ธ(III)๊ณผ ๋์คํ๋ก์(III)์ ์ถ์ถ๋ฅ ์ ๋งค์ฐ ๋น์ทํ์๋ค. ๋ณธ ์คํ์กฐ๊ฑด์์ ์ถ์ถ๋ฅ ๊ณผ ๋ถ๋ฆฌ์ธ์ ์ธก๋ฉด์์ ์ด์จ์ฑ์ก์ฒด๊ฐ Cyanex 272 ๋จ๋
๊ณผ
ํผํฉ์ถ์ถ์ ๋ณด๋ค ์ฐ์ํ์๋ค. ๋ ๊ธ์์ ์ถ์ถ๋ก ๋ถ๋ฆฌํ๊ธฐ๋ ์ด๋ ค์ฐ๋ฏ๋ก ์ธ์ ์ ์ํ ๋ ๊ธ์์ ๋ถ๋ฆฌ์คํ์ ์ํํ๋ค. ์ด์จ์ฑ์ก์ฒด์ ์ถ์ถ๋ ํฐ๋ธ(III)์
๋์คํ๋ก์(III)์ฉ์ก์ผ๋ก ์ธ์ ํ๋ McCabe-Thiele ๊ณก์ ์ ๊ตฌํ๋ค. ๋ ๊ธ์์ ๋ถ๋ฆฌํ๊ธฐ ์ํด ์ด์จ์ฑ์ก์ฒด์ ์ถ์ถ๋ ํฐ๋ธ(III)์ ๋์คํ๋ก์(III)์ผ๋ก
6๋จ์ ๊ต์ฐจ์ ์ธ์ ์คํ์ ์ํํ๋ค. ์ธ์ ๋จ์๊ฐ 6๋จ์ผ๋ก ์ฆ๊ฐํจ์ ๋ฐ๋ผ ์ด์จ์ฑ์ก์ฒด์ ์ถ์ถ๋์๋ ํฐ๋ธ(III)์ด ๋์คํ๋ก์(III)์ ์ธ์ ๋์ด ์ด์จ์ฑ์ก์ฒด์์
๋์คํ๋ก์(III)์ ์๋๊ฐ 50%์์ 99.5%๊น์ง ์ฆ๊ฐํ์๋ค. ๋ณธ ์ฐ๊ตฌ๊ฒฐ๊ณผ๋ฅผ ์ด์ฉํ์ฌ Fe-Nd-B๊ณ ์์์ ๋ฏธ๋ ํจ์ ๋ ํฐ๋ธ๊ณผ ๋์คํ๋ก์์ ๋ถ๋ฆฌํด์
๊ณ ์๋๋ก ํ์ํ๋ ๊ณต์ ์ ๊ฐ๋ฐ์ด ๊ฐ๋ฅํ๋ค.
Acknowledgements
๋ณธ ์ฐ๊ตฌ๋ ํ๊ตญ์ฐ๊ตฌ์ฌ๋จ์์ ์ง์ํ๋ ๊ฐ์ธ์ฐ๊ตฌ์ง์์ฌ์
(NRF-2018R1D1A1B07044951)์ผ๋ก๋ถํฐ ์ฐ๊ตฌ๋น๋ฅผ ์ง์๋ฐ์ ์ํ๋์์ผ๋ฉฐ ์ด์ ๊ฐ์ฌ๋๋ฆฝ๋๋ค.
REFERENCES
Wang S. G., Schwarz W. H. E., J. Phys. Chem,99, 11687 (1995)

Torkamani H., Raygan S., Mateo C. G., Rassizadehghani J., Palizdar Y., Martin D. S.,
Met. Mater. Int,24, 773 (2018)

Jung H. B., Kim S. M., Moon H. J., Oh Y. S., Lee Y. J., Lee H. S., Met. Mater. Int,24,
1422 (2018)

Yoon H. S., Kim C. J., Chung K. W., Kim S. D., Lee J. Y., Kumar J. R., Hydrometallurgy,165,
27 (2016)

Truong H. T., Kim Y. H., Lee M. S., Korean J. Met. Mater,55, 405 (2017)

Liu Y., Jeon H. S., Lee M. S., Met. Mater. Int,21, 944 (2015)

Banda R., Jeon H. S., Lee M. S., Korean J. Met. Mater,51, 421 (2013)

Park J. H., Jeon H. S., Lee M. S., J. Korean Inst. Resour. Recycl,22, 35 (2013)

Oh C. G., Lee M. S., Korean J. Met. Mater,56, 870 (2018)

Raju B., Jeon H. S., Lee M. S., J. Korean Inst. Resour. Recycl,20, 46 (2011)

Liu Y., Jeon H. S., Lee M. S., Hydrometallurgy,150, 61 (2014)

Kim E. S., Hyeon S. E., Lee G. S., Kim G. S., News and Info. Chem. Eng,32, 56 (2014)

Padhan E., Sarangi K., Hydrometallurgy,167, 134 (2017)

Wang L. Y., Lee M. S., Hydrometallurgy,160, 12 (2016)

Lee J. E., So H. I., Cho Y. C., Ahn J. W., Kim H. I., Lee J. Y., Korean J. Met. Mater,56,
1 (2018)

Fortuny A., Coll M. T., Sastre A. M., Sep. Purif. Technol,97, 137 (2012)

Wang L. Y., Lee M. S., Hydrometallurgy,160, 12 (2016)

Eyal A., Banlel A., Ind. Eng. Chem. Proc. Des. Dev,21, 334 (1982)

Lee M. S., Son S. H., J. Korean Inst. Resour. Recycl,26, 3 (2017)

Figures and Table
Fig. 1.
Effect of equilibrium pH on the extraction of Tb(III) and Dy(III) from HCl solution
by single Cyanex 272. ([Cyanex 272] = 0.003 M, [Tb(III)] =[Dy(III)]= 100 mg/L)
Fig. 2.
Effect of equilibrium pH on the extraction of Tb(III) and Dy(III) from HCl solution
by mixture of Cyanex 272 and Alamine 336. ([Cyanex 272] = 0.003 M, [Alamine 336] =
0.003 M, [Tb(III)] =[Dy(III)]= 100 mg/L)
Fig. 3.
Effect of equilibrium pH on the extraction of Tb(III) and Dy(III) from HCl solution
by ionic liquid prepared by mixing Cyanex 272 and Aliquat 336.( [Cyanex 272] = 0.003
M, [Aliquat 336] = 0.003 M, [Tb(III)] =[Dy(III)]= 100 mg/L)
Fig. 4.
Comparison of the separation factor of Dy(III) and Tb(III) among the three Cyanex
272 based extractants. (Separation factor = DDy(III)/DTb(III), [extractants] = 0.003 M, [Tb(III)] =[Dy(III)]= 100 mg/L)
Fig. 5.
Variation of the concentration of Tb(III) and Dy(III) in the loaded ionic liquid with
the concentration of Dy(III) in the scrubbing solution. (Initial pH 5, the concentration
of Tb(III) and Dy(III) in the loaded ionic liquid was 83 and 86 mg/L)
Fig. 6.
McCabe-Thiele diagram for the scrubbing of Tb(III) from the loaded ionic liquid phase
by pure Dy(III) solution. (the concentration of Tb(III) in the loaded ionic liquid
was 83 mg/L, the concentration of Dy(III) in the scrubbing solution was 1 g/L)
Fig. 7.
Variation of the scrubbing percentage of Tb(III) and the purity of Dy(III) in the
loaded organic with the number of scrubbing stage in the batch simulation cross-current
experiments. (Concentration of Dy(III) in the scrubbing feed was 1 g/L, the concentration
of Tb(III) and Dy(III) in the loaded organic was 83 mg/L and 86 mg/L)
Fig. 8.
Experimental method for the 5 stages of cross-current scrubbing.
Table 1.
Effect of the concentration of Dy(III) in the scrubbing feed on the scrubbing of Tb(III)
and purity of Dy(III) in the loaded organic. (Initial pH of the mixed metal solution
was 5)
|
Dy(III) conc. in scrubbing feed, (g/L)
|
Eq. concentration of Tb(III) in scrubbing soln., (mg/L)
|
Eq. concentration of Dy(III) in organic, (mg/L)
|
Tb(III) scrubbing, (%)
|
Purity of Dy(III) in organic,(%)
|
|
0.1
|
2.9
|
93
|
3
|
52.3
|
|
0.3
|
3.5
|
108
|
4
|
56.2
|
|
0.5
|
11.7
|
138
|
13
|
64.4
|
|
0.7
|
19
|
164
|
21
|
70.4
|
|
1
|
26.5
|
210
|
30
|
77.4
|