안형훈
(Hyeong Hun Ahn)
1
이만승
(Man Seung Lee)
1*
-
목포대학교 공과대학 신소재공학과
(Department of Advanced Material Science & Engineering, Institute of Rare metal, Mokpo
National University, Mokpo 58554, Republic of Korea)
Copyright © 2019 The Korean Institute of Metals and Materials
Key words
metal-organic framework, palladium(II), HCl, adsorption
1. 서 론
금속-유기물 구조체(Metal-Organic Framework, MOFs)는 금속이온 또는 클러스터와 유기 리간드로 구성된 3차원 구조의 다공체이다
[1,2]. 금속-유기물 구조체는 비표면적과 기공 부피가 크고 적절한 클러스터와 유기 리간드의 변형을 통해 맞춤형 분자 설계가 가능한 장점이 있다. 현재
기체의 흡착 및 분리, 센서, 촉매, 약물 전달, 나노물질 합성과 같은 다양한 분야에 대한 응용 잠재력으로 인해 관련 연구가 활발히 이루어지고 있다
[3-10].
노르웨이의 Lillerud교수는 지르코늄(IV)과 1,4-benzenedicaboxylic acid를 사용해 금속-유기물 구조체를 제조하고 UIO-66(UIO는
University of Oslo의 약어)라고 명명했다 [11]. 본 논문에서 사용한 UIO-66-NH2는 UIO-66의 변형으로 2-Aminoterephthalic acid를 유기 리간드로 사용해 제조 가능하다. UIO-66-NH2는 입방최밀충전 구조로 볼 형태의 결정을 가지며 내부에 존재하는 기공의 반지름은 9.5 Å이며 단위 질량당 876 m2/g과 0.379 cm3/g의 높은 비표면적과 비체적을 갖는다 [12]. 금속-유기물 구조체를 수용액에서 금속 흡착 목적으로 사용하기 위해서는 금속-유기물 구조체의 화학적 안정성이 매우 중요하다 [13,7,14-16]. UIO-66-NH2는 내화학적 특성이 뛰어난 지르코늄(IV)을 클러스터로 사용해 다른 금속-유기물 구조체보다 수용액에서 화학적, 열적 안전성이 크다. 문헌에 따르면
pH가 1정도의 염산 용액에서도 UIO-66-NH2는 변형되지 않고 안정하다 [17].
팔라듐은 연료전지용 합금, 불용성 전극재료, 광촉매재료, 가스 센서, 금속 유리 재료등 다양한 분야에 사용된다 [18-21]. 또한 팔라듐은 다른 전이금속에 비해 수소 흡수능력이 매우 커서 수소저장물질로 사용되며, 향후 수요가 증가할 가능성이 높다 [21]. 팔라듐을 안정적으로 공급하기 위해서는 2차 자원으로부터 팔라듐을 회수하기 위한 연구가 필요하다 [19-25]. 기존 문헌에 따르면 UIO-66-NH2로 pH 1정도의 염산 용액에서 팔라듐을 흡착하는 것이 가능하다 [9]. 그러나 백금족 금속이 함유된 2차 자원 침출액의 염산농도는 1 M 이상이다. 따라서 1 M 이상의 염산용액에서 UIO-66-NH2에 의한 팔라듐(II)의 흡착 거동에 대한 자료 확보가 필요하다. 또한 실제공정에 적용하기 위해서는 염산농도에 따른 UIO-66-NH2의 안정성과 팔라듐(II)의 흡착용량 및 속도론에 대한 자료가 필요하다.
본 연구에서는 염산수용액에서 UIO-66-NH2를 사용하여 염산 및 염소이온의 농도에 따른 팔라듐(II)의 흡착거동을 조사했다. 반응시간에 따른 흡착률의 변화에 대해 2차 반응속도 모델을 적용하여
속도론적 자료를 확보했다. 또한 UIO-66-NH2에 팔라듐(II) 흡착에 대해 Langmuir 등온흡착 평형을 적용해서 최대흡착용량을 구했다. UIO-66-NH2의 안정성에 영향을 미치지 않으면서 흡착된 팔라듐(II)을 세출하는 조건을 조사했다.
2. 실험 재료 및 방법
2.1 실험 재료 및 방법
UIO-66-NH2를 제조하기 위해 ZrCl4(99.5%, Sigma-Aldrich), N,N’-Dimethylformamide (99.8%, Sigama-Aldrich), BDC-NH2(99%, Sigama-Aldrich), 에틸 알코올(95%, Daejung Chemical & Metals Co., Ltd)을 사용했다. PdCl2(99.9%, Sigma-Aldrich)를 2차 증류수에 용해시켜 팔라듐(II) 용액을 제조했다. 염산(35%, Daejung Chemical &
Metals Co., Ltd)을 첨가하여 팔라듐용액의 산도를 조절하였고, 염화나트륨(99%, Daejung Chemical & Metals Co.,
Ltd)을 첨가하여 팔라듐용액의 염소이온농도를 변화시켰다.
회분식 흡착 실험에서 50 mL 광구병을 사용했고 실험용액은 10 mL로 고정했다. 반응 온도, 교반 속도와 교반시간을 조절하기 위해 교반기(HB-201SF,
Hanbaek Scientific Co.)를 사용했다. 모든 실험에서 교반 속도와 교반온도는 200 rpm와 25 °C로 고정했다. 흡착된 UIO-66-NH2는 여과지(Advantec No.2: 110 mm, pore size : 5 um)를 사용해 용액과 분리했다.
세출 실험에 사용한 팔라듐(II)이 흡착된 UIO-66-NH2는 염산 농도 0.2 M인 100 mg/L의 팔라듐(II) 용액을 1 g/L의 UIO-66-NH2로 흡착해서 준비했다. 세출 실험시 용액의 부피와 시간을 각각 10 mL와 2시간으로 고정했다. 팔라듐(II)이 흡착된 UIO-66-NH2를 여과지로 분리한 다음 UIO-66-NH2를 60 oC에서 12시간 건조시켜 세출 실험에 사용했다.
2.2 UIO-66-NH2의 합성
지르코늄(IV)계 금속-유기물 구조체인 UIO-66-NH2는 문헌에 발표된 방법에 따라 제조했다 [9,17]. ZrCl4(125 mg, 0.54 mmol), N,N’ – Dimethylformamide (DMF, 15 ml), 염산 (1.00 ml) 그리고
BDC-NH2 (134 mg, 0.75 mmol)을 비커에 넣고 초음파 발생 장치에서 40분 동안 처리해 완전히 용해시켰다. 상기 조건에서 제조된
용액을 120 °C에서 24시간 동안 오븐에서 건조시켰다. 생성된 UIO-66-NH2를 여과지로 여과하고 N,N’–Dimethylformamide (DMF)와 에탄올로 세척했다. 세척 후 UIO-66-NH2를 오븐을 사용하여 60 °C에서 12시간 건조 후 팔라듐(II) 흡착 실험에 사용했다.
수용액에 존재하는 팔라듐(II) 농도는 ICP-OES(Inductive Coupled Plasma Optical Emission Spectrometer,
Spectro arcos FHE 16 model)로 측정했다.
3. 결과 및 고찰
3.1 염산용액에서 UIO-66-NH2의 팔라듐(II) 흡착
문헌에 따르면 0.1 M 이상의 염산 용액에서 팔라듐(II)은 대부분 PdCl42-로 존재한다 [18,19]. 본 실험에서 사용한 지르코늄(IV)계 금속-유기물 구조체는 UIO-66-NH2로 수용액에서 상대적으로 다른 금속-유기물 구조체보다 강한 안정성을 보인다 [11,17]. UIO-66-NH2는 [Zr6O4(OH)4]12+ 형태의 지르코늄(IV) 클러스터와 12개의 BDC-NH2의 결합으로 이루어진 금속-유기물 구조체이다. 이러한 금속-유기물 구조체에 이온이 흡착되는
것은 노드에 존재하는 아민기(-NH2)로 인한 흡착과 지르코늄 클러스터와 클러스터 사이에 존재하는 결함으로 인한 흡착으로 대별된다 [6,9]. UIO-66-NH2에서 BDC-NH2에 존재하는 아민은 염산용액에서 산-염기 반응에 의해 양성자가 첨가되어 BDC–NH3+로 전환된다. 이와 같이 형성된 BDC–NH3+는 정전기적 인력으로 수용액에 존재하는 음이온 PdCl42-를 흡착한다 [9]. 한편 클러스터와 클러스터 사이에 노드가 존재하지 않는 결함 사이트에는 Zr–OH 또는 Zr–OH2가 존재할 수 있다. BDC-NH2의 양성자 첨가반응을 식 (1)에 나타냈다. 또한 BDC–NH3+와 Zr-OH에 의한 PdCl42- 흡착 반응을 각각 식 (2)와 (3)에 나타냈다 [9].
식 (1)-(3)을 보면 BDC–NH3+나 Zr-OH에 의해 팔라듐(II)이 흡착되려면 수소이온이 필요한 것을 알 수 있다. 따라서 UIO-66-NH2에 의한 팔라듐(II)의 흡착반응에서 염산농도는 큰 영향을 미친다고 생각할 수 있다. 산도가 강한 용액에서는 (1)-(3)반응에 의한 흡착반응이 활발히
일어날 것으로 예상된다. 일반적으로 금속-유기물 구조체에서 결함 농도는 높지 않고, UIO-66-NH2의 팔라듐(II) 흡착량이 UIO-66보다 매우 높다 [4]. 따라서 BDC–NH2에 양성자 첨가반응이 일어난 다음 팔라듐(II) 음이온을 정전기적 인력으로 흡착하는 반응 (2)가 주로 일어난다고 생각된다.
염산 농도가 UIO-66-NH2의 팔라듐(II) 흡착에 미치는 영향을 조사하기 위해 염산 농도를 0.2 M에서 9 M까지 변화시켜 실험한 결과를 그림 1에 나타냈다. 본 실험에서 팔라듐(II)의 농도는 100 mg/L로 고정시켰고, UIO-66-NH2의 농도는 0.5 g/L로 조절했다. 염산농도 0.2 M에서 1 M 사이에서 팔라듐(II)은 UIO-66-NH2에 흡착되었고, 염산농도 3M 이상의 용액에서는 팔라듐(II)이 미량 흡착되었다. 또한 3 M 이상의 염산용액에서 흡착 실험시 UIO-66-NH2가 불안정해지면서 일부 지르코늄(IV)이 팔라듐(II)용액으로 용출되어 용액내 지르코늄(IV) 농도가 증가했다. UIO-66-NH2가 음이온의 흡착제로 작용하기 위해서는 수소이온이 필요한데도 불구하고 본 실험결과에 의하면 염산농도가 0.2 M에서 1 M로 증가함에 따라 팔라듐(II)의
흡착률은 감소했다. 염산 농도 증가에 따라 흡착률이 감소하는 이유는 염소 이온 농도의 증가에 따른 영향으로 생각되며, 3.2절에서 이의 영향을 고찰했다.
3.2 염소이온 농도가 UIO-66-NH2의 팔라듐(II) 흡착에 미치는 영향
본 연구의 염산농도 실험범위에서 팔라듐(II)은 PdCl42- 단일 화학종으로 존재한다. 그러나 염산 농도 0.2 M에서 1.0 M 농도 범위에서 염산 농도가 증가함에 따라 UIO-66-NH2로의 팔라듐(II) 흡착률이 감소하였다. 따라서 염소이온농도가 팔라듐(II)의 흡착에 미치는 영향을 조사하기 위해 0.2 M 염산 용액에 염화나트륨를
첨가해 흡착실험을 수행한 결과를 그림 2에 나타냈다. 반응식 (2) 와 (3)을 보면 팔라듐(II)의 흡착반응에 염소이온은 무관하지만, 실험결과 염소이온의 농도가 1 M로 증가함에 따라 팔라듐(II)의 흡착률이 감소했다. PdCl42-와 염소이온의 유효 반지름은 각각 5.5 Å, 1.81 Å로 PdCl42-가 더 크므로 전하밀도(charge density)는 염소이온과 비슷하다 [26,9]. 그러나 PdCl42-가 염소이온에 비해 부피가 크므로 UIO-66-NH2에 흡착시 입체인자(Steric factor)가 증가하므로 팔라듐(II)보다는 염소이온이 정전기적 인력에 의해 흡착될 가능성이 크다. 또한 팔라듐(II)에
비해 염소이온의 농도가 과잉인 조건에서는 질량작용의 법칙에 따라 염소이온이 흡착된다. 본 실험결과로부터 UIO-66-NH2로 팔라듐(II) 흡착시 염산과 염소이온의 농도가 매우 중요함을 알 수 있다.
3.3 염산 용액에서 UIO-66-NH2에의 팔라듐(II) 흡착속도
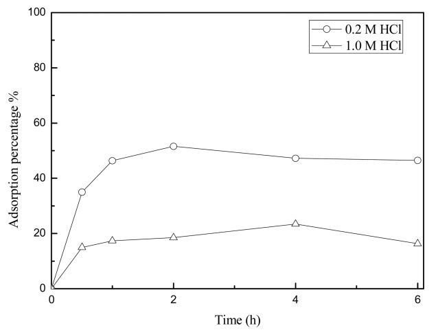
염산 농도가 팔라듐(II) 흡착 속도에 미치는 영향을 조사하기 위해 염산농도 0.2 M과 1.0 M 용액에서 반응속도실험을 수행하였다. 이러한 목적을
위해 팔라듐(II)의 농도가 100 mg/L인 용액을 대상으로 UIO-66-NH2의 농도와 실험용액의 부피를 각각 0.5 g/L와 10 mL로 조절하여 반응시간을 30분에서 6시간까지 변화시켰다. 그림 3에 의하면 UIO-66-NH2는 두 염산농도 용액에서 2시간 만에 흡착 평형에 도달했다. 팔라듐(II)의 UIO-66-NH2 흡착 반응속도에 대한 정량적 정보를 얻기 위해 고체상의 흡착 평형능력을 기반으로 유도된 2차 반응속도 모델(pseudo-second-order kinetic
model)을 사용해 분석했다 [27,28]. 식 (4)는 2차 반응속도 모델을 나타낸다 [27].
상기 식에서 t는 반응시간(min), qt는 단위 질량당 반응시간 t에서 흡착된 팔라듐(II) 이온의 흡착 용량(mg/g), qe는 단위 질량당 평형상태에서
흡착된 팔라듐(II) 이온의 흡착 용량(mg/g), k는 2차 반응속도 상수(g/mg/min)를 나타낸다 [27,28]. 상기 2차 반응속도 모델을 본 연구의 흡착실험자료에 적용하면 k와 qe를 구할 수 있고 이 값으로부터 식 (5)을 사용하여 초기 흡착속도(h, mg/g/min)를 구할 수 있다 [28].
2차 반응속도 모델을 본 논문의 실험결과에 적용한 결과를 그림 4와 표 1에 나타냈다. 본 실험조건에서 염산 용액에서 UIO-66-NH2의 팔라듐(II) 흡착은 2차 반응 속도식과 잘 일치하였다. 또한 2차 반응속도 모델을 통해 구한 k와 qe는 염산농도가 증가함에 따라 감소했다. 초기 흡착속도(h)는 염산 농도와 반비례하여 염산 농도가 낮을수록 높은 초기 흡착속도를 보였다. 따라서 본
실험 결과에 따르면 UIO-66-NH2에 의한 팔라듐(II)의 흡착에서 염산농도는 흡착속도와 흡착용량에 영향을 미치며 염산농도가 낮을수록 흡착용량은 증가하였다. 식 (5)로 구한 UIO-66-NH2의 팔라듐(II) 초기 흡착속도는 UIO-66-NH2의 단위 질량당 높은 비표면적과 비체적으로 인해 매우 빠르다 [27,28]. Fick의 확산 법칙에 따르면 몰분율이 감소하면 PdCl42-의 유속이 감소하여 UIO-66-NH2와 계면에 도달할 수 있는 PdCl42-의 유효농도가 감소한다. 따라서 염산 농도가 증가하면 초기 흡착속도는 감소하게 된다.
3.4 염산 용액에서 UIO-66-NH2 농도에 따른 흡착률 변화 및 등온흡착곡선
UIO-66-NH2의 농도가 팔라듐(II) 흡착에 미치는 영향을 조사하기 위해 0.2 M과 1.0 M 염산용액에서 UIO-66-NH2의 농도를 0.2 g/L에서 4 g/L까지 변화시켰다. 그림 5에 따르면 0.2 M 염산 용액의 경우 UIO-66-NH2의 농도가 2 g/L인 조건에서 팔라듐 100 mg/L가 대부분 흡착되었다. 그러나 1.0 M 염산 용액의 경우 UIO-66-NH2의 농도 4 g/L 조건에서 90% 정도 팔라듐(II)이 흡착된다.
염산용액에서 UIO-66-NH2로 팔라듐( I I ) 흡착은 Langmuir등온흡착을 따르며 실험자료로부터 다음의 직선 관계를 얻을 수 있다 [29,30].
상기 식에서 qe는 단위 질량당 평형상태에서의 팔라듐(II) 이온의 교환 용량(mg/g), qm은 단위 질량당 평형상태에서 팔라듐(II) 이온의 최대 교환 용량(mg/g), Ce는 흡착 실험 후 용액에서 팔라듐(II) 이온 농도(mg/L), K는 Langmuir 상수이다(L/mg). 실험에서 얻은 자료를 상기 Langmuir
등 온흡착식으로 도해한 결과를 그림 6에 나타냈다. 본 실험 자료는 직선적인 관계를 나타냈고 이로부터 염산용액에서 팔라듐(II)는 UIO-66-NH2에 Langmuir 등온흡착에 의해 흡착된다고 생각할 수 있다. Langmuir 등온흡착 곡선으로부터 얻은 Langmuir 상수와 최대 교환 용량을
표 1에 나타냈다. 염산농도 0.2 M과 1 M에서 UIO-66-NH2의 팔라듐(II) 최대 흡착용량은 각각 106.5와 40.6 mg/g으로 이온교환수지에 비해 매우 높다. 또한 염산농도가 높은 조건에서 흡착용량이
감소하였다.
3.5 세출
팔라듐(II)을 흡착한 UIO-66-NH2로부터 팔라듐(II) 회수를 위해 세출 실험을 진행했다. UIO-66-NH2로부터 팔라듐(II)을 세출 시 UIO-66-NH2를 구성하는 팔라듐(II)의 세출과 함께 지르코늄(IV)이 분해되지 않는 조건을 찾는 것이 중요하다. 본 실험에서는 티오요소(thiourea, CH4N2S), 티오시안산 암모늄(ammonium thiocyanate, NH4SCN), 탄산나트륨(sodium carbonate, Na2CO3)을 사용하여 세출실험을 수행했으며 결과를 표 2에 나타냈다. 탄산나트륨을 세출제로 사용시 팔라듐(II)을 모두 세출할 수 있지만 지르코늄(IV)이 분해되어 수용액에서 120 mg/L이 검출되었다.
티오요소를 세출제로 사용하는 경우 티오시안산 암모늄에 비해 팔라듐(II) 세출률은 높으나 0.5M의 티오요소에서 4 mg/L의 지르코늄(IV)이 검출되었다.
티오시안산 암모늄을 세출제로 사용시 농도가 0.2 M에서 0.5 M로 증가하면 팔라듐(II)의 세출률이 60에서 80%로 증가하나 지르코늄(IV)이
분해되지 않았다. 따라서 본 논문에서 사용한 세출제중에서 티오시안산 암모늄이 UIO-66-NH2로부터 팔라듐(II)의 세출제로 적합하다. HSAB(Hard and Soft Acids and Bases)원리에 따르면 팔라듐(II)은 무른 산으로
센 염기인 염소이온보다 무른 염기인 SCN-와 착물을 형성하려는 경향이 강하다 [18]. 따라서 UIO-66-NH2에 흡착된 팔라듐(II)은 티오시안산 암모늄용액내에 존재하는 SCN-에 의해 Pd(SCN)42-형태로 세출된다.
3.6 팔라듐(II)회수를 위한 이온교환 및 금속-유기물 구조체 공정 비교
이온교환 공정은 유기물 형태의 이온교환 수지를 이용해 용액내에 존재하는 목적금속을 회수하기 위해 상업적으로 사용되고 있다. 이온 교환수지를 사용해
염산용액으로부터 팔라듐(II)을 분리, 회수하기 위한 많은 연구들이 선행되었다. 팔라듐(II)은 염산 용액에서 AG 1-X8, AG MP-1, Amberlite
IRA-900, Purolite A-400TL와 같은 음이온교환 수지를 사용해 흡착할 수 있다 [31-33]. 상기 음이온교환수지는 화학적 안전성이 높고, 1 M 이상의 진한 염산용액에서도 팔라듐(II)을 흡착할 수 있다.
본 실험 결과에 따르면 금속-유기물 구조체인 UIO-66-NH2의 팔라듐(II) 흡착 거동은 이온교환 수지와 유사하다. Amberlite IRA-900의 경우 팔라듐(II) 흡착평형에 도달 하는데 24시간이 소요된다
[31]. 하지만 금속-유기물 구조체는 높은 비표면적으로 인해 2시간이내에 반응평형에 도달하였다. 금속- 유기물 구조체인 UIO-66-NH2는 TGA 분석결과에 의하면 300 oC에서도 안정하다 [17]. 따라서 고온고압조건에서 금속이온의 분리목적으로 사용하는 것이 가능하다. 이와 같이 금속-유기물 구조체는 기존의 이온교환수지에 비해 고온고압 조건에
적용이 가능하며 비교적 빨리 반응평형에 도달하는 장점이 있다.
4. 결 론
염산 용액에서 UIO-66-NH2에 의한 팔라듐(II)의 흡착거동을 조사하였다. UIO-66-NH2는 1.0 M 이하의 염산용액에서 팔라듐(II)을 안정적으로 흡착했으나 염산 농도가 3 M 이상으로 증가함에 따라 흡착률이 급격하게 감소했으며, 구조체가
불안정해져 지르코늄(IV)이 용출되었다. 또한 염산농도가 일정한 조건에서 염소이온의 농도를 증가시키면 팔라듐(II) 흡착률이 감소하였다. 0.2-1.0
M의 염산 용액에서 UIO-66-NH2의 팔라듐(II) 흡착은 Langmuir 등온흡착과 잘 일치하였다. 또한 흡착반응은 2시간에 반응평형에 도달했으며 2차 반응속도 모델을 적용하여 초기반응속도를
구했다. 0.2 M과 1 M의 염산용액에서 Langmuir 등온흡착곡선에서 구한 UIO-66-NH2의 팔라듐(II) 최대 흡착용량은 각각 106.5와 40.6 mg/g으로 염산농도가 증가할수록 흡착용량이 감소하였다. NH4SCN을 세출제로 사용하면
UIO-66-NH2 구조체의 지르코늄(IV) 안정도에 영향을 미치지 않으면서 팔라듐(II)을 세출할 수 있었다. UIO-66-NH2는 1 M 이하의 염산 용액에서 팔라듐(II)을 효과적으로 흡착할 수 있으며 이온교환수지보다 흡착용량이 크고 반응속도가 빠르기 때문에 상용화 가능성이
높다. 향후 금속-유기물 구조체의 화학적 안정도를 향상시키면서 재사용 가능성 및 다른 금속 이온이 팔라듐(II)의 흡착에 미치는 영향을 조사하는 추가
연구가 필요하다.
Acknowledgements
본 연구는 한국연구재단에서 지원하는 개인연구지원사업 (NRF-2018R1D1A1B07044951)으로부터 연구비를 지원받아 수행되었으며 이에 감사드립니다.
REFERENCES
Yaghi O. M., O’Keeffe M., Ockwig N. W., Chae H. K., Eddaoudi M., Kim J. H., Nature,423,
705 (2003)

Horike S., Shimomura S., Kitagawa S., Nat. Chem,1, 695 (2009)

Dinca M., Long J. R., Angew Chem Int,47, 6766 (2008)

Li J. R., Kuppler R. J., Zhou H. C., Chem. Soc. Rev,38, 1477 (2009)

Farrusseng D., Aguado S., Pinel C., Angew Chem Int,48, 7502 (2009)

Klet. R. C., Liu Y., Wang T. C., Hupp J. T., Farha O. K., J. Mater. Chem. A,4, 1479
(2016)

Wen J., Fang Y., Zeng G., Chemosphere,201, 627 (2018)

Sun D. T., Peng L., Reeder W. S., Moosavi S. M., Tiana D., Britt D. K., Oveisi E.,
Queen W. L., ACS. Cent. Sci,4, 349 (2018)

Lin S., Reddy D. H. K., Bediako J. K., Song M. H, Wei W., Kim J. A., Yun Y. S., J.
Mater. Chem. A,5, 13557 (2017)

Ferey G., Chem. Soc. Rev,37, 191 (2008)

Cavka J. H., Jakobsen S., Olsbye U., Guillou N., Lamberti C., Bordiga S., Lillerud
K. P., J. Am. Chem. Soc,130, 13850 (2008)

Luu C. L., Nguyen T. T. V., Nguyen T., Hoang T. C., Adv. Nat. Sci.: Nanosci. Nanotechnol,6,
25004 (2015)

Feng M., Zhang P., Zhou H. C., Sharma V. K., Chemosphere,209, 783 (2018)

Peng Y., Huang H., Zhang Y., Kang C., Chen S., Song L., Liu D., Zhong C., Nat. Commun,9,
187 (2018)

Burtch N. C., Jasuja H., Walton K. S., Chem. Rev,114, 10575 (2014)

Tian J., Saraf L. V., Schwenzer B., Taylor S. M., Brechin E. K., Liu J., Dalgarno
S. J., Thallapally P. K., J. Am. Chem. Soc,134, 9581 (2012)

Kandiah M., Nilsen M. H., Usseglio S., Jakobsen S., Olsbye U., Tilset M., Larabi C.,
Quadrelli E. A., Bonino F., Lillerud K. P., Chem. Mater,22, 6632 (2010)

Morrissey C. J., Geo-Platinum 87,60Springer (1988)

Nguyen T. H., Wang L., Lee M. S., Korean J. Met. Mater,55, 247 (2017)

Shivani S., Kumar A. S. K., Rajesh N., RSC Adv,7, 52133 (2017)

Ruhela R., Singh A. K., Tomar B. S., Hubli R. C., RSC. Adv,4, 24344 (2014)

Choi E., Kwak Y. J., Song M. Y., Met. Mater. Int,24, 1403 (2018)

Narayana P. L., Kim S. W., Hong J. K., Reddy N. S., Yeom J. T., Met. Mater. Int,24,
919 (2018)

Song M. Y., Kwak Y. J., Choi E. H., Korean J. Met. Mater,56, 524 (2018)

Song M. Y., Choi E. H., Kwak Y. J., Korean J. Met. Mater,56, 620 (2018)

Shannon R. D., Acta Cryst,32, 751 (1976)

Kowanga K. D., Gatebe E., Mauti G. O., Mauti E. M., J. Phytopharmacol,5, 71 (2016)

Ho Y. S., Mckay G., Can. J. Chem. Eng,76, 822 (1998)

Langmuir I., J. Am. Chem. Soc,40, 1361 (1918)

Ahn H. H., Lee M. S., J. Korean Inst. Resour. Recyel,27, 48 (2018)

Els E. R., Lorenzen L., Aldrich C., Miner. Eng,10, 1177 (1997)

Wołowicz A., Hubicki Z., J. Mater. Sci,49, 6191 (2014)

Xing W. D., Lee M. S., J. Ind. Eng. Chem,00, 1 (2018)

Figures and Tables
Fig. 1.
Effect of HCl concentration on the adsorption of Pd(II) onto UIO-66-NH2 and Zr(IV) concentration in the solution owing to UIO-66-NH2 breakage.(([UIO-66-NH2 Concentration] = 0.5 g/L, [Pd(II)] = 100 mg/L , [Reaction time] = 2 h)
Fig. 2.
Effect of chloride ion concentration on the adsorption of Pd(II) onto UIO-66-NH2 from 0.2 M HCl solution. ([UIO-66-NH2 concentration] = 0.5g/L, [Pd(II)] = 100 mg/L, [Reaction time] = 2 h)
Fig. 3.
Variation of Pd(II) adsorption onto UIO-66-NH2 with reaction time from 0.2 M and 1.0 M HCl solution. ([UIO-66-NH2 concentration] = 0.5g/L, [Pd(II)] = 100 mg/L, [Reaction time] = 0.5 – 6 h)
Fig. 4.
Correlation of kinetic data with pseudo second-order kinetic model for the adsorption
of Pd(II) onto UIO-66-NH2 from 0.2 M and 1.0 M HCl solution. ([UIO-66-NH2 concentration] = 0.5g/L, [Pd(II)] = 100 mg/L, [Reaction time] = 0.5 – 6 h)
Fig. 5.
Effect of UIO-66-NH2 concentration on the adsorption of Pd(II) from 0.2 M and 1.0 M HCl solution. ([Pd(II)]
= 100 mg/L, [Reaction time] = 2 h)
Fig. 6.
Langmuir adsorption isotherm of Pd(II) onto UIO-66-NH2 from 0.2 M and 1.0 M HCl solution. ([Pd(II)] = 100 mg/L, [Reaction time] = 2 h)
Table 1.
Estimated coefficients of pseudo second order adsorption kinetics and Langmuir isotherm
for the adsorption of Pd(II) onto UIO-66-NH2 from 0.2 and 1.0 M HCl solution.
|
HCl concentration
|
Pseudo-second-order kinetic coefficients
|
|
Calculated equi. uptake qe (mg/g)
|
k (g/mg·min)
|
h (mg/g·min)
|
qmax (mg/g)
|
k (L/mg)
|
|
0.2 M
|
106.4
|
0.002
|
15.2
|
106.5
|
0.4
|
|
1.0 M
|
50
|
0.001
|
2.7
|
40.6
|
0.5
|
Table 2.
Elution of Pd(II) from the adsorbed UIO-66-NH2 and Zr(IV) concentration in the aqueous phase.
|
Eluants
|
Elution (%)
|
Zr (IV) concentration (mg/L)
|
|
0.2 M NH4SCN
|
60
|
0
|
|
0.5 M NH4SCN
|
80
|
0
|
|
0.2 M Thiourea
|
97
|
2
|
|
0.5 M Thiourea
|
94
|
4
|
|
0.5 M Na2CO3 |
100
|
120
|
|
0.1 M HNO3 |
2
|
1
|