The Journal of
the Korean Journal of Metals and Materials

The Journal of
the Korean Journal of Metals and Materials

Monthly
  • pISSN : 1738-8228
  • eISSN : 2288-8241

Editorial Office


  1. ํ˜„๋Œ€์ž๋™์ฐจ MSV ๋‚ด๊ตฌ์‹œํ—˜ํŒ€ (1MSV & Small Sized Vehicle Durability Test Team, Hyundai Motor Group, Hwaseong, 18280, Republic of Korea)
  2. ์„ฑ๊ท ๊ด€๋Œ€ํ•™๊ต ์‹ ์†Œ์žฌ๊ณตํ•™๋ถ€ (2Department of Materials Science and Engineering, Sungkyunkwan University, Suwon, 16419, Republic of Korea)
  3. ๊ตญ๋ฆฝ์ฐฝ์›๋Œ€ํ•™๊ต ์‹ ์†Œ์žฌ๊ณตํ•™๋ถ€ (3Department of Materials Convergence and System Engineering, Changwon National University, Changwon, 51140, Republic of Korea)
  4. ๊ตญ๋ฆฝ์ฐฝ์›๋Œ€ํ•™๊ต ์†Œ์žฌ์œตํ•ฉ์‹œ์Šคํ…œ๊ณตํ•™๊ณผ (4School of Materials Science and Engineering, Changwon National University, Changwon, 51140, Republic of Korea)



UNS A93003, Localised corrosion, Immersion, EIS, Chloride ion

1. ์„œ ๋ก 

UNS A93003 ํ•ฉ๊ธˆ์€ ํ•ญ๊ณต์šฐ์ฃผ ๋ฐ ํ•ด์–‘ ๊ตฌ์กฐ๋ฌผ์— ๋„๋ฆฌ ์‚ฌ์šฉ๋œ๋‹ค. ์ตœ๊ทผ์—๋Š” ์ „๋™ํ™” ์ž๋™์ฐจ์˜ ๋ฐฐํ„ฐ๋ฆฌ ์ผ€์ด์‹ฑ์—๋„ ์  ์šฉ๋˜๊ณ  ์žˆ์œผ๋ฉฐ[1-3], ์ด ํ•ฉ๊ธˆ์€ ๋†’์€ ๊ฐ•๋„ ๊ฐ’๊ณผ ๊ตญ๋ถ€ ๋ถ€์‹ ์ €ํ•ญ์„ฑ ๋•๋ถ„์— ๋‹ค์–‘ํ•œ ์‚ฐ์—… ๋ถ„์•ผ์—์„œ ํ•„์ˆ˜์ ์ธ ์žฌ๋ฃŒ๋กœ ์ž๋ฆฌ ์žก๊ณ  ์žˆ๋‹ค. ์ด๋Ÿฌํ•œ ํŠน์„ฑ์€ UNS A93003 ํ•ฉ๊ธˆ์ด ๊ตฌ์กฐ์  ์•ˆ์ •์„ฑ์„ ์ œ๊ณตํ•˜๊ณ , ๋‹ค์–‘ํ•œ ํ™˜๊ฒฝ์—์„œ ๋‚ด๊ตฌ์„ฑ์„ ํ™•๋ณดํ•˜๋Š” ๋ฐ ๊ธฐ์—ฌํ•œ๋‹ค[4-6].

์†Œ๊ธˆ๋ฌผ ํ™˜๊ฒฝ์—์„œ์˜ ๊ธˆ์† ๋ถ€์‹์€ ๊ตฌ์กฐ๋ฌผ์˜ ์•ˆ์ „์„ฑ๊ณผ ์ˆ˜๋ช…์„ ์œ„ํ˜‘ํ•  ์ˆ˜ ์žˆ๋‹ค. ํŠนํžˆ, ์ „๋™ํ™” ์ž๋™์ฐจ์˜ ๋ฐฐํ„ฐ๋ฆฌ ์ผ€์ด์‹ฑ์€ ๋‚ด๋ถ€์— ๋ƒ‰๊ฐ์ˆ˜๊ฐ€ ํ๋ฅด๊ณ , ํ•˜๋ถ€๋Š” ์ƒ์˜จ๋ณด๋‹ค ๋†’์€ ์˜จ๋„๋กœ ๋Œ€๊ธฐ ์ค‘์— ๋…ธ์ถœ๋˜์–ด ์ˆ˜๋ถ„๊ณผ ์—ผ๋ถ„์— ์˜ํ•œ ๋ถ€์‹์ด ๊ฐ€์†ํ™”๋  ์ˆ˜ ์žˆ๋‹ค. ์ด๋Ÿฌํ•œ ๋ถ€์‹ ํ˜„์ƒ์€ ๋ฐฐํ„ฐ๋ฆฌ์˜ ์•ˆ์ „์„ฑ๊ณผ ํšจ์œจ์„ฑ์— ์ค‘๋Œ€ํ•œ ์˜ํ–ฅ์„ ๋ฏธ์น˜๋ฏ€๋กœ, UNS A93003 ํ•ฉ๊ธˆ์˜ ๊ตญ๋ถ€ ๋ถ€์‹ ๊ฑฐ๋™์— ๋Œ€ํ•œ ์—ฐ๊ตฌ๊ฐ€ ํ•„์š”ํ•˜๋‹ค. ๊ทธ๋Ÿฌ๋‚˜ ํ˜„์žฌ๊นŒ์ง€ UNS A93003 ํ•ฉ๊ธˆ์— ๋Œ€ํ•œ ๊ตญ๋ถ€ ๋ถ€์‹ ๊ด€๋ จ ์—ฐ๊ตฌ๋Š” ์ฃผ๋กœ ํ•ฉ๊ธˆ์˜ ์ผ๋ฐ˜์ ์ธ ๊ตญ๋ถ€ ๋ถ€์‹ ํŠน์„ฑ์— ์ดˆ์ ์„ ๋งž์ถ”์–ด ์™”์œผ๋ฉฐ[7-9], ์ „๊ธฐํ™”ํ•™์  ๋งค๊ฐœ๋ณ€์ˆ˜์˜ ์‹œ๊ฐ„์— ๋”ฐ๋ฅธ ๋ณ€ํ™”์™€ ๊ตญ๋ถ€ ๋ถ€์‹ ๊ฑฐ๋™ ๊ฐ„์˜ ๊ด€๊ณ„์— ๋Œ€ํ•œ ์—ฐ๊ตฌ๋Š” ๋ถ€์กฑํ•˜๋‹ค.

์ผ๋ฐ˜์ ์œผ๋กœ ๊ตญ๋ถ€ ๋ถ€์‹์€ ๊ธˆ์†์ด ๋…ธ์ถœ๋œ ํ™˜๊ฒฝ์—์„œ ์ž„์˜๋กœ ๋ฐœ์ƒํ•˜๋ฉฐ, ๊ท ์ผํ•˜๊ฒŒ ๋ฐœ์ƒํ•˜์ง€ ์•Š๋Š” ๋ถ€์‹์˜ ํ•œ ํ˜•ํƒœ์ด๋‹ค. ๊ท ์ผ ๋ถ€์‹๊ณผ๋Š” ๋‹ฌ๋ฆฌ ์‹ฌ๊ฐํ•œ ์†์ƒ์„ ์ดˆ๋ž˜ํ•  ์ˆ˜ ์žˆ๋‹ค. UNS A93003 ํ•ฉ๊ธˆ์€ ์ „๋™ํ™” ์ž๋™์ฐจ์˜ ๋ฐฐํ„ฐ๋ฆฌ ์ผ€์ด์‹ฑ ํ™˜๊ฒฝ์—์„œ ํ•˜๋ถ€์˜ ๋ฌผ ๋งบํž˜๊ณผ ์—ผ๋ถ„์˜ ์˜ํ–ฅ์œผ๋กœ ๊ตญ๋ถ€ ๋ถ€์‹์— ์ทจ์•ฝํ•  ์ˆ˜ ์žˆ๋‹ค[3,5,6]. ๊ธฐ์กด์— UNS A93003 ํ•ฉ๊ธˆ์˜ ๊ตญ๋ถ€ ๋ถ€์‹ ์ €ํ•ญ์„ฑ๊ณผ ๊ฑฐ๋™์„ ํ‰๊ฐ€ํ•˜๊ธฐ ์œ„ํ•œ ์‹คํ—˜๋ฒ•์œผ๋กœ๋Š” ๋™์ „์œ„ ๋ถ„๊ทน ๊ณก์„ , ์ž„ํ”ผ๋˜์Šค ๋ถ„๊ด‘ ๋ถ„์„๋ฒ• ๋“ฑ์ด ๋‹ค์–‘ํ•˜๊ฒŒ ํ™œ์šฉ๋˜์–ด ์™”๋‹ค[3,4,7-11]. ์ด๋Ÿฌํ•œ ์‹คํ—˜์€ ์ „๊ธฐํ™”ํ•™์  ๋ฐฉ๋ฒ•์œผ๋กœ, ์‹คํ—˜ ํ›„ ์–ป์€ ๋‹ค์–‘ํ•œ ๋งค๊ฐœ๋ณ€์ˆ˜๋ฅผ ๋ฐ”ํƒ•์œผ๋กœ ๊ธˆ์†์˜ ๊ตญ๋ถ€ ๋ถ€์‹ ์ €ํ•ญ์„ฑ์„ ๋น„๊ตยท๋ถ„์„ํ•˜์˜€๋‹ค. ํŠนํžˆ, ์ž„ํ”ผ๋˜์Šค ๋ถ„๊ด‘ ๋ถ„์„์„ ํ™œ์šฉํ•˜์—ฌ ์ €ํ•ญ์„ ์ธก์ •ํ•˜๋Š” ๊ฒƒ์€ ๊ธˆ์†์˜ ๊ตญ๋ถ€ ๋ถ€์‹ ๊ฑฐ๋™์„ ์ดํ•ดํ•˜๋Š” ๋ฐฉ๋ฒ• ์ค‘ ํ•˜๋‚˜๋กœ ๋„๋ฆฌ ํ™œ์šฉ๋˜๊ณ  ์žˆ๋‹ค[7, 9]. ์ƒ๋Œ€์ ์ธ ์ €ํ•ญ ๊ฐ’์˜ ์ฐจ์ด๋ฅผ ํ†ตํ•ด ๋…ธ์ถœ๋œ ํ•ฉ๊ธˆ ํ‘œ๋ฉด์˜ ์ „๊ธฐํ™”ํ•™์  ์ „๋„์„ฑ์„ ๋น„๊ตํ•  ์ˆ˜ ์žˆ์œผ๋ฏ€๋กœ, ์ €ํ•ญ ๊ฐ’ ๋ณ€ํ™”์— ๋Œ€ํ•œ ์ •๋ณด๋Š” ์‹œ๊ฐ„์— ๋”ฐ๋ฅธ ๊ตญ๋ถ€ ๋ถ€์‹ ๊ฑฐ๋™์„ ์ดํ•ดํ•˜๋Š” ๋ฐ ํ•„์š”ํ•œ ์ˆ˜๋‹จ์ด ๋œ๋‹ค.

์†Œ๊ธˆ๋ฌผ ํ™˜๊ฒฝ์—์„œ UNS A93003 ํ•ฉ๊ธˆ์˜ ๊ตญ๋ถ€ ๋ถ€์‹ ๊ฑฐ๋™์„ ์กฐ์‚ฌํ•œ ์„ ํ–‰ ์—ฐ๊ตฌ๋“ค์€ ๋™์ „์œ„ ๋ถ„๊ทน ์‹œํ—˜์œผ๋กœ ์–ป์–ด์ง„ ์ „๊ธฐํ™”ํ•™์  ๋งค๊ฐœ๋ณ€์ˆ˜(๋ถ€์‹ ์ „์œ„, ์–‘๊ทน ๋ฐ ์Œ๊ทน ์ „๋ฅ˜ ๋ฐ€๋„ ๋“ฑ)๋ฅผ ๋‹ค๋ฅธ ํ™˜๊ฒฝ ๋ฐ ์•Œ๋ฃจ๋ฏธ๋Š„ ํ•ฉ๊ธˆ๊ณผ ๋น„๊ตํ•˜์—ฌ ๊ตญ๋ถ€ ๋ถ€์‹ ์ €ํ•ญ์„ฑ์„ ํ‰๊ฐ€ํ•˜์˜€๋‹ค[3,4,10]. Park ๋“ฑ์€ UNS A93003 ํ•ฉ๊ธˆ์ด ์—ผํ™”๋ฌผ ํ™˜๊ฒฝ์— ๋…ธ์ถœ๋˜์—ˆ์„ ๋•Œ ์–ต์ œ์ œ๋ฅผ ์ฒจ๊ฐ€ํ•˜์—ฌ ๋ถ€์‹ ์–ต์ œ ํšจ๊ณผ๋ฅผ ๋ถ„์„ํ•˜์˜€์œผ๋ฉฐ, ์ด๋ฅผ ์ „๊ธฐํ™”ํ•™์  ๋™์ „์œ„ ๋ถ„๊ทน ๊ณก์„ ์—์„œ ์–ป์€ ๋ถ€์‹ ์ „์œ„ ๋ฐ ๋ถ€์‹ ์ „๋ฅ˜ ๋ฐ€๋„๋ฅผ ํ†ตํ•ด ํ‰๊ฐ€ํ•˜์˜€๋‹ค[3]. Kim ๋“ฑ์€ UNS A93003, UNS A94045, UNS A97072 ํ•ฉ๊ธˆ์˜ ๋ถ€์‹ ์ „์œ„๋ฅผ ์กฐ์‚ฌํ•˜์—ฌ ํ•ฉ๊ธˆ ๊ฐ„ ๊ฐˆ๋ฐ”๋‹‰ ๋ถ€์‹ ๊ฐ€๋Šฅ์„ฑ์„ ํ‰๊ฐ€ํ•˜์˜€๋‹ค[4]. Afshar ๋“ฑ์€ UNS A93003๊ณผ UNS A94343 ํ•ฉ๊ธˆ์˜ ํŒ ์ ‘ํ•ฉ๋ถ€ ๋ฏธ์„ธ๊ตฌ์กฐ์— ๋Œ€ํ•œ ๊ตญ๋ถ€ ๋ถ€์‹ ๊ฑฐ๋™์„ ๋™์ „์œ„ ๋ถ„๊ทน ๊ณก์„ ์—์„œ ์–ป์€ ๋ถ€์‹ ์ „์œ„๋ฅผ ๋น„๊ตํ•˜์—ฌ ๋ถ„์„ํ•˜์˜€๋‹ค[10].

์ „๊ธฐํ™”ํ•™์  ๋™์ „์œ„ ๋ถ„๊ทน ๊ณก์„ ๊ณผ ๋‹ฌ๋ฆฌ, ์ž„ํ”ผ๋˜์Šค ๋ถ„๊ด‘ ๋ถ„์„๋ฒ•์„ ํ™œ์šฉํ•˜์—ฌ ์†Œ๊ธˆ๋ฌผ ํ™˜๊ฒฝ์—์„œ UNS A93003 ํ•ฉ๊ธˆ์˜ ๊ตญ๋ถ€ ๋ถ€์‹ ์ €ํ•ญ์„ฑ์„ ํ‰๊ฐ€ํ•œ ์—ฐ๊ตฌ๋„ ๋ณด๊ณ ๋˜์—ˆ๋‹ค[7,9,12-14]. Lu ๋“ฑ์€ UNS A93003 ํ•ฉ๊ธˆ์˜ ๊ท ์งˆํ™” ์—ด์ฒ˜๋ฆฌ ํ›„, ์ž„ํ”ผ๋˜์Šค ๋ถ„๊ด‘ ๋ถ„์„๋ฒ•์„ ์ด์šฉํ•˜์—ฌ ๊ณ„๋ฉด์˜ ์ „ํ•˜ ์ด๋™ ์ €ํ•ญ์„ ๋น„๊ตํ•จ์œผ๋กœ์จ ์—ด์ฒ˜๋ฆฌ ํšจ๊ณผ์— ๋”ฐ๋ฅธ ํ•ฉ๊ธˆ์˜ ๊ตญ๋ถ€ ๋ถ€์‹ ๊ฑฐ๋™์„ ํ‰๊ฐ€ํ•˜์˜€๋‹ค[7]. Liu ๋“ฑ์€ ์ž„ํ”ผ๋˜์Šค ๋ถ„๊ด‘ ๋ถ„์„๋ฒ•์„ ํ†ตํ•ด ์–ป์€ ๊ณ„๋ฉด ์ €ํ•ญ ์ •๋ณด๋ฅผ ๋ฐ”ํƒ•์œผ๋กœ, UNS A93003 ํ•ฉ๊ธˆ ํ‘œ๋ฉด์— ํ˜•์„ฑ๋œ ๋ถ€๋™ํƒœ ํ”ผ๋ง‰์˜ ์ „๊ธฐ์ ยท๋ฐ˜๋„์ฒด์  ํŠน์„ฑ์„ ๋ถ„์„ํ•˜๊ณ  ๊ตญ๋ถ€ ๋ถ€์‹ ์ €ํ•ญ์„ฑ์— ๋Œ€ํ•ด ๋ณด๊ณ ํ•˜์˜€๋‹ค[9].

์ž„ํ”ผ๋˜์Šค ๋ถ„๊ด‘ ๋ถ„์„๋ฒ•์„ ํ™œ์šฉํ•˜์—ฌ ์†Œ๊ธˆ๋ฌผ ํ™˜๊ฒฝ์—์„œ ํ‘œ๋ฉด์˜ ๋ถ„๊ทน ์ €ํ•ญ ๊ฐ’์„ ์ธก์ •ํ•˜๊ณ , ๋ถ€์‹ ์†๋„์™€ ๋ฐ˜๋น„๋ก€ํ•˜๋Š” ์ƒ๊ด€๊ด€๊ณ„๋ฅผ ๋ฐ”ํƒ•์œผ๋กœ ์•Œ๋ฃจ๋ฏธ๋Š„ ํ•ฉ๊ธˆ์˜ ํ‘œ๋ฉด ๊ฐœ์งˆ ํ›„ ๊ตญ๋ถ€ ๋ถ€์‹ ๊ฑฐ๋™์„ ํ‰๊ฐ€ํ•œ ์—ฐ๊ตฌ๋„ ๋ณด๊ณ ๋˜์—ˆ๋‹ค[12-14]. Mansfeld ๋“ฑ์€ ์—ผํ™”๋ฌผ ํ™˜๊ฒฝ์—์„œ UNS A97075 ํ•ฉ๊ธˆ์˜ ์‹œ๊ฐ„์— ๋”ฐ๋ฅธ ๋ถ„๊ทน ์ €ํ•ญ ๊ฐ’ ๋ณ€ํ™”๋ฅผ ์ธก์ •ํ•˜์—ฌ, ํ•ด๋‹น ํ•ฉ๊ธˆ์˜ ๊ตญ๋ถ€ ๋ถ€์‹ ๊ฑฐ๋™์„ ํ‰๊ฐ€ํ•˜์˜€๋‹ค[12]. Liu ๋“ฑ์€ UNS A93003, UNS A94045, UNS A97075 ํ•ฉ๊ธˆ์„ ์ ‘ํ•ฉํ•œ ํ›„, ์ ‘ํ•ฉ๋ถ€ ์ „์ฒด๋ฅผ ์†Œ๊ธˆ๋ฌผ์— ๋…ธ์ถœ์‹œํ‚ค๊ณ  2 4์‹œ๊ฐ„ ๋™์•ˆ ๋ถ„๊ทน ์ €ํ•ญ ๊ฐ’์„ ์ธก์ •ํ•˜์—ฌ ์ ‘ํ•ฉ๋ถ€์˜ ๊ตญ๋ถ€ ๋ถ€์‹ ๊ฑฐ๋™์„ ๋ถ„์„ํ•˜์˜€๋‹ค[13]. Bonnel ๋“ฑ์€ UNS A92024 ํ•ฉ๊ธˆ ํ‘œ๋ฉด์— ๋‹ค์–‘ํ•œ ์œ ๊ธฐ ์ฝ”ํŒ…์„ ์ ์šฉํ•œ ๋’ค, ์†Œ๊ธˆ๋ฌผ ํ™˜๊ฒฝ์—์„œ ๋ถ„๊ทน ์ €ํ•ญ์„ ์ธก์ •ํ•˜์—ฌ ํ‘œ๋ฉด์˜ ๊ตญ๋ถ€ ๋ถ€์‹ ์ €ํ•ญ์„ฑ์„ ๋น„๊ตยทํ‰๊ฐ€ํ•˜์˜€๋‹ค[14].

์ผ๋ฐ˜์ ์œผ๋กœ ์ž„ํ”ผ๋˜์Šค ๋ถ„๊ด‘ ๋ถ„์„๋ฒ•์„ ํ†ตํ•ด ์–ป์–ด์ง„ ๋ถ„๊ทน ์ €ํ•ญ ๊ฐ’์€, ์ธ๋•ํ„ด์Šค๋ฅผ ํฌํ•จํ•˜์ง€ ์•Š๋Š” ๋“ฑ๊ฐ€ํšŒ๋กœ์—์„œ ์ „ํ•˜ ์ด๋™ ์ €ํ•ญ ๊ฐ’์„ ๊ณ„์‚ฐํ•œ ๋’ค ์šฉ์•ก ์ €ํ•ญ์„ ์ œ์™ธํ•œ ๊ฒฐ๊ณผ์ด๋‹ค[12,13]. ๊ทธ๋Ÿฌ๋‚˜ ์ธ๋•ํ„ด์Šค๋ฅผ ํฌํ•จํ•˜๋Š” ๋“ฑ๊ฐ€ํšŒ๋กœ์˜ ๊ฒฝ์šฐ, ๋ถ„๊ทน ์ €ํ•ญ๋งŒ์œผ๋กœ๋Š” ์ „๊ทน ํ‘œ๋ฉด์˜ ์ „๊ธฐํ™”ํ•™์  ์ž„ํ”ผ๋˜์Šค๋ฅผ ์ •ํ™•ํžˆ ๋ถ„์„ํ•˜๊ธฐ ์–ด๋ ต๋‹ค. ๋”ฐ๋ผ์„œ ์ธ๋•ํ„ด์Šค๋ฅผ ํฌํ•จํ•œ ์ž„ํ”ผ๋˜์Šค ๋“ฑ๊ฐ€ํšŒ๋กœ์—์„œ๋Š” โ€˜๋ถ„๊ทน ์ €ํ•ญโ€™๋ณด๋‹ค๋Š” โ€˜ํ‘œ๋ฉด ์ €ํ•ญโ€™์ด๋ผ๋Š” ๊ฐœ๋…์ด ๋” ์ ์ ˆํ•œ ํ‘œํ˜„์ด๋‹ค. ํ•˜์ง€๋งŒ ์†Œ๊ธˆ๋ฌผ ํ™˜๊ฒฝ์—์„œ ์ธ๋•ํ„ด์Šค๋ฅผ ๊ณ ๋ คํ•œ ์ „๊ธฐํ™”ํ•™ ๋ฐ˜์‘๊ณ„๋ฅผ ๊ธฐ๋ฐ˜์œผ๋กœ ์‹œ๊ฐ„์— ๋”ฐ๋ฅธ UNS A93003 ํ•ฉ๊ธˆ์˜ ํ‘œ๋ฉด ์ €ํ•ญ ๊ฐ’ ๋ณ€ํ™”๋ฅผ ๋ถ„์„ํ•˜๊ณ , ์ด์— ๋”ฐ๋ฅธ ๊ตญ๋ถ€ ๋ถ€์‹ ๊ฑฐ๋™์„ ํ‰๊ฐ€ํ•œ ์—ฐ๊ตฌ๋Š” ํ˜„์žฌ๊นŒ์ง€ ๋“œ๋ฌผ๊ฒŒ ๋ณด๊ณ ๋˜๊ณ  ์žˆ๋‹ค.

๋ณธ ์—ฐ๊ตฌ๋Š” UNS A93003 ํ•ฉ๊ธˆ์˜ ์‹œ๊ฐ„์— ๋”ฐ๋ฅธ ์ „๊ธฐํ™”ํ•™์  ํ‘œ๋ฉด ์ €ํ•ญ ๋ณ€ํ™”๊ฐ€ ๊ตญ๋ถ€ ๋ถ€์‹ ๊ฑฐ๋™์— ๋ฏธ์น˜๋Š” ์˜ํ–ฅ์„ ์กฐ์‚ฌํ•˜๊ณ ์ž ํ•œ๋‹ค. ์‹คํ—˜์€ ์ž๋™์ฐจ ์ฃผํ–‰ ํ™˜๊ฒฝ์„ ๋Œ€ํ‘œ์ ์œผ๋กœ ๋ชจ์‚ฌํ•  ์ˆ˜ ์žˆ๋Š” ๋‹ค์–‘ํ•œ ์†Œ๊ธˆ๋ฌผ ํ™˜๊ฒฝ์—์„œ ์ˆ˜ํ–‰๋˜๋ฉฐ, ์นจ์ง€ ์‹คํ—˜๊ณผ ์ž„ํ”ผ๋˜์Šค ๋ถ„๊ด‘ ๋ถ„์„๋ฒ•(EIS)์„ ์ด์šฉํ•˜์—ฌ ์ „๊ธฐํ™”ํ•™์  ํŠน์„ฑ์„ ๋ถ„์„ํ•œ๋‹ค. ๋˜ํ•œ, ์ฃผ์‚ฌ์ „์žํ˜„๋ฏธ๊ฒฝ(SEM) ๋ฐ ๋ผ๋งŒ ๋ถ„๊ด‘ ๋ถ„์„(Raman spectroscopy) ๋“ฑ์˜ ํ‘œ๋ฉด ๋ถ„์„ ๊ธฐ๋ฒ•์„ ํ™œ์šฉํ•˜์—ฌ ๊ตญ๋ถ€ ๋ถ€์‹ ๊ฑฐ๋™ ๋ฐ ๋ถ€์‹ ์ƒ์„ฑ๋ฌผ์„ ๋ถ„์„ํ•˜๊ณ ์ž ํ•œ๋‹ค.

2. ์‹คํ—˜ ๋ฐฉ๋ฒ•

๋ณธ ์—ฐ๊ตฌ์—์„œ ์‚ฌ์šฉ๋œ ํ•ฉ๊ธˆ์€ UNS A93003์œผ๋กœ, ์ค‘๋Ÿ‰ ๋ฐฑ๋ถ„์œจ ๊ธฐ์ค€์œผ๋กœ Si 0.6, Fe 0.7, Cu 0.13, Mg 1.25, Zn 0.1, Al ์ž”๋Ÿ‰์˜ ์„ฑ๋ถ„์„ ๊ฐ€์ง„๋‹ค. ๋‘๊ป˜ 1.5 mm์˜ ํŒ์žฌ๋ฅผ ์•ฝ 10 ร— 10 mm2 ํฌ๊ธฐ๋กœ ์ ˆ๋‹จํ•˜์˜€๋‹ค. ์‹œํŽธ ํ‘œ๋ฉด์€ SiC ์‚ฌํฌ๋กœ #3000๊นŒ์ง€ ์—ฐ๋งˆํ•œ ๋’ค, 1 ฮผm ๋‹ค์ด์•„๋ชฌ๋“œ ํ˜„ํƒ์•ก์„ ์ด์šฉํ•˜์—ฌ ๊ฒฝ๋ฉด ์—ฐ๋งˆํ•˜์˜€๋‹ค. ๊ฒฝ๋ฉด ์—ฐ๋งˆ๋œ ์‹œํŽธ์˜ ํ‘œ๋ฉด์€ ์ฃผ์‚ฌ์ „์žํ˜„๋ฏธ๊ฒฝ(MIRA3 LMH, TESCAN)์„ ์ด์šฉํ•˜์—ฌ ํ›„๋ฐฉ ์‚ฐ๋ž€ ์ „์ž์ƒ(Backscattered Electron Image, BSE)์„ ์ดฌ์˜ํ•˜์˜€์œผ๋ฉฐ, ์—๋„ˆ์ง€ ๋ถ„์‚ฐ ๋ถ„๊ด‘๊ธฐ(Energy Dispersive Spectroscopy, EDS)๋ฅผ ํ†ตํ•ด ํ™”ํ•™ ์„ฑ๋ถ„์„ ๋ถ„์„ํ•˜์˜€๋‹ค.

UNS A93003 ํŒ์žฌ๋ฅผ 10 ร— 10 mm2 ํฌ๊ธฐ๋กœ ์ ˆ๋‹จํ•œ ์‹œํŽธ์˜ ๋’ท๋ฉด์— ๊ตฌ๋ฆฌ ๋ฆฌ๋“œ์„ ์„ ๋•œ์งˆํ•œ ํ›„, ์•„ํฌ๋ฆด๊ณ„ ์ˆ˜์ง€์— ํ•จ์นจํ•˜์—ฌ ์ „๊ธฐํ™”ํ•™ ์‹คํ—˜์šฉ ์ž‘์—… ์ „๊ทน์œผ๋กœ ์ œ์ž‘ํ•˜์˜€๋‹ค. ์‹œํŽธ ํ‘œ๋ฉด์€ ์ ‘์ฐฉ์ œ๋ฅผ ์‚ฌ์šฉํ•˜์—ฌ ๋…ธ์ถœ ๋ฉด์ ์„ ์ œ์™ธํ•œ ๋ถ€๋ถ„์ด ์šฉ์•ก์— ๋‹ฟ์ง€ ์•Š๋„๋ก ๋งˆ์Šคํ‚นํ•˜์˜€๋‹ค. ์‹คํ—˜ ์ค‘ ์šฉ์•ก์— ๋…ธ์ถœ๋˜๋Š” ๋ฉด์ ์€ ์•ฝ 5 ร— 5 mm2์ด๋ฉฐ, ์ˆ˜์ง€์™€ ์ ‘์ฐฉ์ œ์˜ ๊ฒฝ๊ณ„ ํ‹ˆ์—์„œ ๋ถ€์‹์ด ๋ฐœ์ƒํ•˜์ง€ ์•Š์€ ์‹œํŽธ์˜ ์‹คํ—˜ ๊ฒฐ๊ณผ๋งŒ์„ ์‚ฌ์šฉํ•˜์˜€๋‹ค.

์ „๊ธฐํ™”ํ•™ ์‹คํ—˜์€ ์‚ผ์ „๊ทน๊ณ„๋ฅผ ์‚ฌ์šฉํ•˜์˜€๋‹ค. ์ž‘์—… ์ „๊ทน์€ UNS A93003 ํ•ฉ๊ธˆ์œผ๋กœ ์ œ์ž‘ํ•˜์˜€๊ณ , ์ƒ๋Œ€ ์ „๊ทน์€ ์ง๊ฒฝ 6 mm์˜ ๊ณ ๋ฐ€๋„ ํƒ„์†Œ๋ด‰, ๊ธฐ์ค€ ์ „๊ทน์€ ํฌํ™” KCl ์šฉ์•ก ๋‚ด ์€/์—ผํ™”์€ ์ „๊ทน(Silver/Silver Chloride Electrode in Sat. KCl; SSE)์„ ์‚ฌ์šฉํ•˜์˜€๋‹ค. ์„ธ ์ „๊ทน์€ ์ „์œ„์ฐจ๊ณ„(SP-200, Bio-Logic)์— ์—ฐ๊ฒฐํ•˜์—ฌ ์‹คํ—˜์„ ์ง„ํ–‰ํ•˜์˜€๋‹ค. ๋™์ „์œ„ ๋ถ„๊ทน ์‹คํ—˜์€ 50o C์—์„œ 0.5, 1.5, 3.5, 5.0 wt% NaCl ์šฉ์•ก์— ์‹œํŽธ์„ ์•ฝ 600 ์ดˆ๊ฐ„ ์ž์—ฐ ์นจ์ง€ํ•˜์—ฌ ๊ฐœํšŒ๋กœ ์ „๊ทน ์ „์œ„(Open Circuit Potential, OCP)๋ฅผ ์ธก์ •ํ•œ ํ›„, OCP์—์„œ โˆ’0.15 V๋ถ€ํ„ฐ 1mVยทs-1์˜ ์†๋„๋กœ ๋ถ„๊ทน ํ•˜์˜€๋‹ค. ์ดํ›„ ์ „๋ฅ˜ ๋ฐ€๋„๊ฐ€ 5 mAยทcm-2์— ๋„๋‹ฌํ•  ๋•Œ๊นŒ์ง€ ๋ถ„๊ทน์„ ์ง„ํ–‰ํ•˜์˜€๋‹ค. ์ด๋Š” ์ผ๋ฐ˜์ ์œผ๋กœ ์ธ์šฉ๋˜๋Š” ASTM G5 ๊ธฐ์ค€์˜ 0.166 mVยทs-1๋ณด๋‹ค ๋น ๋ฅด์ง€๋งŒ, ์ด๋Š” 430๊ณ„ ์Šคํ…Œ์ธ๋ฆฌ์Šค๊ฐ•์„ ํ™ฉ์‚ฐ ์šฉ์•ก์— ์นจ์ง€ํ•˜์—ฌ ์žฅ๋น„ ์„ฑ๋Šฅ์„ ๊ฒ€์ฆํ•˜๊ธฐ ์œ„ํ•œ ํŠน์ • ์กฐ๊ฑด์—์„œ์˜ ์‹œํ—˜ ์˜ˆ์‹œ์— ํ•ด๋‹นํ•˜๋ฉฐ, ๋‹ค์–‘ํ•œ ๊ธˆ์†๊ณผ ํ™˜๊ฒฝ ์กฐ๊ฑด์— ๋ณดํŽธ์ ์œผ๋กœ ์ ์šฉ๋˜๋Š” ์ ˆ๋Œ€์ ์ธ ๊ธฐ์ค€์€ ์•„๋‹ˆ๋‹ค. ๋ณธ ์—ฐ๊ตฌ์—์„œ๋Š” UNS A93003 ํ•ฉ๊ธˆ์˜ ์ „๊ธฐํ™”ํ•™์  ํŠน์„ฑ๊ณผ ์žฅ๋น„์˜ ์‘๋‹ต ํŠน์„ฑ์„ ๊ณ ๋ คํ•˜์—ฌ, ๋ณด๋‹ค ์•ˆ์ •์ ์ธ ๊ณก์„  ํ™•๋ณด์™€ ์‹ ํ˜ธ ๋…ธ์ด์ฆˆ ์ตœ์†Œํ™”๋ฅผ ์œ„ํ•ด 1 mVยทs-1๋ฅผ ์„ ํƒํ•˜์˜€๋‹ค. ์‹คํ—˜์˜ ์‹ ๋ขฐ์„ฑ์„ ํ™•๋ณดํ•˜๊ธฐ ์œ„ํ•ด ๋™์ผ ์กฐ๊ฑด์—์„œ 3ํšŒ ์ด์ƒ์˜ ์žฌํ˜„์„ฑ์„ ํ™•์ธํ•˜์˜€๋‹ค.

๊ฐ๊ฐ์˜ NaCl ๋†๋„(0.5, 1.5, 3.5, 5.0 wt%)์—์„œ ์นจ์ง€ ๋œ ์ „๊ทน์— ๋Œ€ํ•ด, ์นจ์ง€ ํ›„ 2, 12, 24, 48, 120, 300 ์‹œ๊ฐ„ ๊ฒฝ๊ณผ ์‹œ์ ์— ์ „๊ธฐํ™”ํ•™ ์ž„ํ”ผ๋˜์Šค ๋ถ„๊ด‘ ๋ถ„์„๋ฒ•(Electrochemical Impedance Spectroscopy; EIS)์„ ์ˆ˜ํ–‰ํ•˜์˜€๋‹ค. EIS ์ธก์ •์€ ๋ณด๋ฐ ํ”Œ๋กฏ(Bode plot)์„ ์ž‘์„ฑํ•˜๊ณ , ํ‘œ๋ฉด ์ €ํ•ญ ๊ฐ’์„ ๋ถ„์„ํ•˜๊ธฐ ์œ„ํ•ด ์ˆ˜ํ–‰๋˜์—ˆ๋‹ค. ์˜ˆ๋ฅผ ๋“ค์–ด, ์นจ์ง€ 2 ์‹œ๊ฐ„ ํ›„ EIS ์ธก์ •์„ ์ˆ˜ํ–‰ํ•œ ๋’ค, ๋™์ผ ์‹œํŽธ์„ ๋‹ค์‹œ ์šฉ์•ก์— ์นจ์ง€ํ•˜์—ฌ 2์‹œ๊ฐ„ ํ›„ ๋‹ค์‹œ ์ธก์ •ํ•จ์œผ๋กœ์จ ํ•ด๋‹น ์‹œํŽธ์˜ ์ด ์นจ์ง€ ์‹œ๊ฐ„์€ 4 ์‹œ๊ฐ„์ด ๋œ๋‹ค. ์ด์™€ ๊ฐ™์€ ๋ฐฉ์‹์œผ๋กœ ์นจ์ง€ ์‹œ๊ฐ„์„ ์—ฐ์žฅํ•˜์—ฌ ์ตœ์ข…์ ์œผ๋กœ 300 ์‹œ๊ฐ„๊นŒ์ง€ ์‹คํ—˜์„ ์ˆ˜ํ–‰ํ•˜์˜€๋‹ค. EIS ์‹คํ—˜์€ ์นจ์ง€ ์‹œ์ ์˜ ์ „๊ทน ์ „์œ„๋ฅผ ๊ธฐ์ค€์œผ๋กœ ยฑ5 mVrms์˜ ๊ต๋ฅ˜ ์ „์••์„ ์ธ๊ฐ€ํ•˜์—ฌ, 105~10-2 Hz์˜ ์ฃผํŒŒ์ˆ˜ ๋ฒ”์œ„์—์„œ ์ธก์ •ํ•˜์˜€๋‹ค. ๋ชจ๋“  ์‹คํ—˜ ๊ฒฐ๊ณผ๋Š” ์„ธ ๋ฒˆ ์ด์ƒ์˜ ๋ฐ˜๋ณต ์‹คํ—˜์„ ํ†ตํ•ด ์žฌํ˜„์„ฑ์ด ํ™•๋ณด๋œ ๋ฐ์ดํ„ฐ๋งŒ์„ ๊ธฐ๋ฐ˜์œผ๋กœ ๋ถ„์„ํ•˜์˜€๋‹ค.

50ยฐC, 5.0 wt% NaCl ์กฐ๊ฑด์—์„œ ์‹œํŽธ์„ 300 ์‹œ๊ฐ„ ์นจ์ง€ํ•˜๊ธฐ ์ „๊ณผ ํ›„์— ๊บผ๋‚ด์–ด, ํ‘œ๋ฉด์˜ ๋ถ€์‹ ํ˜•์ƒ ๋ฐ ์กฐ์„ฑ์„ ์ฃผ์‚ฌ์ „์žํ˜„๋ฏธ๊ฒฝ-์—๋„ˆ์ง€ ๋ถ„์‚ฐ ๋ถ„๊ด‘๊ธฐ(SEM-EDS)๋ฅผ ์ด์šฉํ•˜์—ฌ ๋ถ„์„ํ•˜์˜€๋‹ค. ๋™์ผํ•˜๊ฒŒ, ์‹œํŽธ ํ‘œ๋ฉด์— ํ˜•์„ฑ๋œ ๋ถ€์‹ ์ƒ์„ฑ๋ฌผ์€ ๋ผ๋งŒ๋ถ„๊ด‘ ๋ถ„์„๊ธฐ(Raman Spectroscopy; DXRโ„ข3, Thermo Fisher)๋ฅผ ํ™œ์šฉํ•˜์—ฌ ๋ถ„์„ํ•˜์˜€๋‹ค. ๋ถ„์„์— ์‚ฌ์šฉ๋œ ๋ ˆ์ด์ € ๊ด‘์›์€ ํŒŒ์žฅ 532 nm์ด๋ฉฐ, ์  ๋ถ„์„ ์ง€์ ์˜ ์ง๊ฒฝ์€ ์ตœ์†Œ 10 ฮผm ์ด๋‹ค. ๋ชจ๋“  ์‹คํ—˜ ๊ฒฐ๊ณผ๋Š” ์„ธ ๋ฒˆ ์ด์ƒ์˜ ๋ฐ˜๋ณต ์ธก์ •์„ ํ†ตํ•ด ์œ ํšจ์„ฑ์ด ํ™•๋ณด๋œ ๋ฐ์ดํ„ฐ๋ฅผ ๊ธฐ๋ฐ˜์œผ๋กœ ๋„์ถœํ•˜์˜€๋‹ค.

3. ๊ฒฐ๊ณผ ๋ฐ ๊ณ ์ฐฐ

๊ทธ๋ฆผ 1์€ UNS A93003 ํ•ฉ๊ธˆ์˜ ํ‘œ๋ฉด์„ ๊ฒฝ๋ฉด ์—ฐ๋งˆํ•œ ํ›„, ์ฃผ์‚ฌ์ „์žํ˜„๋ฏธ๊ฒฝ(SEM)์˜ ํ›„๋ฐฉ ์‚ฐ๋ž€ ์ „์ž์ƒ (BSE) ์‚ฌ์ง„ ๋ฐ ์—๋„ˆ์ง€ ๋ถ„์‚ฐ ๋ถ„๊ด‘๊ธฐ(EDS)๋ฅผ ์ด์šฉํ•˜์—ฌ ํš๋“ํ•œ ์›์†Œ ๋งตํ•‘ ๊ฒฐ๊ณผ์ด๋‹ค. BSE ์‚ฌ์ง„์—์„œ๋Š” ์ƒ๋Œ€์ ์ธ ๋ฐ๊ธฐ ์ฐจ์ด๊ฐ€ ๊ด€์ฐฐ๋˜๋ฉฐ, ์ผ๋ฐ˜์ ์œผ๋กœ ํ›„๋ฐฉ์‚ฐ๋ž€ ์ „์ž๋Š” ํƒ„์„ฑ ์‚ฐ๋ž€์— ์˜ํ•œ ๊ฒƒ์œผ๋กœ, ์งˆ๋Ÿ‰์ด ํฐ ์›์†Œ์ผ์ˆ˜๋ก ์‚ฐ๋ž€ ๊ฐ•๋„๊ฐ€ ์ปค์ ธ ์‚ฌ์ง„์—์„œ ์ƒ๋Œ€์ ์œผ๋กœ ๋ฐ๊ฒŒ ๋‚˜ํƒ€๋‚œ๋‹ค. ๊ทธ๋ฆผ 1์—์„œ ๋ฐ๊ฒŒ ๋‚˜ํƒ€๋‚˜๋Š” ์˜์—ญ์€ ์ง๊ฒฝ 2 ฮผm ์ดํ•˜์˜ ๋ฏธ์„ธ ์ž…์ž๋“ค๋กœ, ํ‘œ๋ฉด ์ „๋ฐ˜์— ๊ท ์ผํ•˜๊ฒŒ ๋ถ„ํฌ๋˜์–ด ์žˆ๋‹ค. EDS ์›์†Œ ๋งตํ•‘ ๊ฒฐ๊ณผ, ์ด๋“ค ์ž…์ž์—์„œ๋Š” Mn, Fe, Si ์›์†Œ์˜ ๋†๋„๊ฐ€ ๋†’๊ฒŒ ๋‚˜ํƒ€๋‚ฌ์œผ๋ฉฐ, ์ƒ๋Œ€์ ์œผ๋กœ ์–ด๋‘์šด ์˜์—ญ์—์„œ๋Š” Al์˜ ๋†๋„๊ฐ€ ๋†’๊ฒŒ ๋‚˜ํƒ€๋‚ฌ๋‹ค. ์ผ๋ฐ˜์ ์œผ๋กœ UNS A93003 ํ•ฉ๊ธˆ์—์„œ๋Š” Al ๊ธฐ์ง€(matrix) ๋‚ด์— Alโ€“Mnโ€“Feโ€“Si ๊ณ„์—ด์˜ ๊ธˆ์†๊ฐ„ ํ™”ํ•ฉ๋ฌผ(intermetallic compounds)์ด ์กด์žฌํ•˜๋Š” ๊ฒƒ์œผ๋กœ ์•Œ๋ ค์ ธ ์žˆ๋‹ค[5,6]. ๋˜ํ•œ, BSE ์‚ฌ์ง„์—์„œ Si๊ฐ€ ํฌํ•จ๋˜์ง€ ์•Š์€ ๊ธˆ์†๊ฐ„ ํ™”ํ•ฉ๋ฌผ์ด Si๊ฐ€ ํฌํ•จ๋œ ํ™”ํ•ฉ๋ฌผ๋ณด๋‹ค ์ƒ๋Œ€์ ์œผ๋กœ ๋” ๋ฐ๊ฒŒ ๋‚˜ํƒ€๋‚˜๋Š” ๊ฒฝํ–ฅ์ด ํ™•์ธ๋˜์—ˆ๋‹ค. ๋”ฐ๋ผ์„œ ๊ทธ๋ฆผ 1์—์„œ ๊ด€์ฐฐ๋œ ๋ฏธ์„ธ ์ž…์ž๋“ค์€ Mn, Fe, Si์˜ ๋†๋„๊ฐ€ ๊ธฐ์ง€๋ณด๋‹ค ๋†’์€ ๊ธˆ์†๊ฐ„ ํ™”ํ•ฉ๋ฌผ๋กœ ํŒ๋‹จ๋œ๋‹ค.

๊ทธ๋ฆผ 2๋Š” ๊ทธ๋ฆผ 1์˜ (a) ํ›„๋ฐฉ ์‚ฐ๋ž€ ์ „์ž์ƒ (BSE) ์‚ฌ์ง„๊ณผ (b) ๊ธˆ์†๊ฐ„ ํ™”ํ•ฉ๋ฌผ์— ๋Œ€ํ•œ SEM-EDS ์  ๋ถ„์„์„ ํ†ตํ•ด ์–ป์€ ์กฐ์„ฑ๋น„ ๊ฒฐ๊ณผ๋ฅผ ๋‚˜ํƒ€๋‚ธ ๊ฒƒ์ด๋‹ค. UNS A93003 ํ•ฉ๊ธˆ์— ํ˜•์„ฑ๋˜๋Š” ๊ธˆ์†๊ฐ„ ํ™”ํ•ฉ๋ฌผ์€ ์ฃผ๋กœ ๋‘ ๊ฐ€์ง€๋กœ ์•Œ๋ ค์ ธ ์žˆ์œผ๋ฉฐ, ๊ทธ ์กฐ์„ฑ์€ ๊ฐ๊ฐ Al6(MnFe)์™€ Al15(MnFe)3Si2์ด๋‹ค[3,7,10,11,13,15,16]. ๋ณธ ์—ฐ๊ตฌ์—์„œ ๊ด€์ฐฐ๋œ ๊ธˆ์†๊ฐ„ ํ™”ํ•ฉ๋ฌผ์˜ ์ƒ๋Œ€์  ๋น„์œจ์€ ๊ธฐ์กด ๋ฌธํ—Œ์—์„œ ๋ณด๊ณ ๋œ ๊ฒฐ๊ณผ์™€ ์œ ์‚ฌํ•œ ์ˆ˜์ค€์ž„์„ ํ™•์ธํ•˜์˜€๋‹ค. ๋”ฐ๋ผ์„œ ๋ณธ ์—ฐ๊ตฌ์— ์‚ฌ์šฉ๋œ UNS A93003 ํ•ฉ๊ธˆ์˜ ๊ธˆ์†ํ•™์  ๋ฏธ์„ธ๊ตฌ์กฐ๋Š” ๊ตญ๋ถ€ ๋ถ€์‹ ๊ฑฐ๋™์„ ํ‰๊ฐ€ํ•˜๋Š” ๋ฐ ์ ํ•ฉํ•œ ํŠน์„ฑ์„ ๊ฐ–๋Š” ๊ฒƒ์œผ๋กœ ํŒ๋‹จ๋œ๋‹ค.

๊ทธ๋ฆผ 3์€ 50ยฐC์—์„œ 0.5, 1.5, 3.5, 5.0 wt% NaCl ์šฉ์•ก์—์„œ ์ธก์ •ํ•œ UNS A93003 ํ•ฉ๊ธˆ์˜ ๋™์ „์œ„ ๋ถ„๊ทน ๊ณก์„ ์„ ๋‚˜ํƒ€๋‚ธ ๊ฒƒ์ด๋‹ค. ์†Œ๊ธˆ๋ฌผ ๋†๋„์™€ ๊ด€๊ณ„์—†์ด ๋ชจ๋“  ๋ถ„๊ทน ๊ณก์„ ์—์„œ ํ™˜์› ๋ฐ˜์‘(cathodic reaction) ์˜์—ญ๊ณผ ์‚ฐํ™” ๋ฐ˜์‘(anodic reaction) ์˜์—ญ์ด ๋ช…ํ™•ํžˆ ๊ตฌ๋ถ„๋˜์—ˆ๋‹ค. ๋ถ€์‹ ์ „์œ„(corrosion potential, Ecorr)๋ณด๋‹ค ์Œ์˜ ์ „์œ„ ์˜์—ญ์ธ ํ™˜์› ์˜์—ญ์—์„œ๋Š” ์ „๊ทน ํ‘œ๋ฉด์—์„œ ์ธก์ •๋œ ์ „๋ฅ˜ ๋ฐ€๋„๊ฐ€ ์†Œ๊ธˆ๋ฌผ ๋†๋„์— ํฌ๊ฒŒ ์˜์กดํ•˜์ง€ ์•Š๊ณ  ์œ ์‚ฌํ•œ ๊ฐ’์„ ๋‚˜ํƒ€๋ƒˆ๋‹ค. ์ด๋Š” UNS A93003 ์ „๊ทน ํ‘œ๋ฉด์—์„œ์˜ O2 ๋ฐ ์ˆ˜์†Œ ์ด์˜จ ๋“ฑ์˜ ํ™˜์› ๋ฐ˜์‘์ด ์†Œ๊ธˆ๋ฌผ ๋†๋„ ๋ณ€ํ™”์— ํฌ๊ฒŒ ์˜ํ–ฅ์„ ๋ฐ›์ง€ ์•Š์Œ์„ ์˜๋ฏธํ•œ๋‹ค. ๋ฐ˜๋ฉด, ๋ถ€์‹ ์ „์œ„๋ณด๋‹ค ์–‘์˜ ์ „์œ„ ์˜์—ญ์—์„œ์˜ ๋ถ„๊ทน(anodic polarisation) ์‹œ, ์ „๋ฅ˜ ๋ฐ€๋„(anodic current density)๋Š” ํ™œ์„ฑํ™”โ€“๋ถ€๋™ํƒœ ์ฒœ์ด(activeโ€“passive transition) ์—†์ด ์ง€์ˆ˜์ ์œผ๋กœ ๊ธ‰๊ฒฉํžˆ ์ฆ๊ฐ€ํ•˜์˜€๋‹ค. ์ด๋Ÿฌํ•œ ๊ฒฝํ–ฅ์€ UNS A93003 ํ•ฉ๊ธˆ์˜ ํ‘œ๋ฉด์—์„œ ๋ฐœ์ƒํ•œ ์ „๋ฅ˜๊ฐ€ ๋ถ€๋™ํƒœ ํ˜•์„ฑ ๋˜๋Š” ์œ ์ง€, ๊ท ์ผ ๋ถ€์‹๋ณด๋‹ค๋Š” ๊ตญ๋ถ€ ๋ถ€์‹(localised corrosion)์— ์˜ํ•œ ์‚ฐํ™” ๋ฐ˜์‘์—์„œ ๊ธฐ์ธํ•œ ๊ฒƒ์œผ๋กœ ํ•ด์„๋œ๋‹ค. ๋˜ํ•œ, ์†Œ๊ธˆ๋ฌผ ๋†๋„๊ฐ€ ์ฆ๊ฐ€ํ•จ์— ๋”ฐ๋ผ UNS A93003์˜ ๋ถ€์‹ ์ „์œ„๋Š” ์Œ์˜ ๋ฐฉํ–ฅ์œผ๋กœ ์ด๋™ํ•˜๋Š” ๊ฒฝํ–ฅ์„ ๋ณด์˜€๋‹ค. ์ด๋Š” ์—ผํ™”๋ฌผ ์ด์˜จ ๋†๋„๊ฐ€ ๋†’์•„์งˆ์ˆ˜๋ก ํ‘œ๋ฉด ํ™œ์„ฑํ™”๊ฐ€ ์ด‰์ง„๋˜๊ณ , ์‚ฐํ™” ๋ฐ˜์‘์˜ ๋ฐ˜์‘ ์†๋„๊ฐ€ ์ฆ๊ฐ€ํ–ˆ๊ธฐ ๋•Œ๋ฌธ์œผ๋กœ ํŒ๋‹จ๋œ๋‹ค. ํ™˜์› ์˜์—ญ์—์„œ์˜ ์ „๋ฅ˜ ๋ฐ€๋„๋Š” NaCl ๋†๋„์— ๋”ฐ๋ฅธ ์ฐจ์ด๊ฐ€ ๊ฑฐ์˜ ์—†์—ˆ๋˜ ๋ฐ˜๋ฉด, ์‚ฐํ™” ์˜์—ญ์—์„œ์˜ ์ „๋ฅ˜ ๋ฐ€๋„ ์ฆ๊ฐ€๊ฐ€ ์ฃผ์š” ๋ณ€ํ™” ์š”์ธ์ด์—ˆ์œผ๋ฏ€๋กœ, ์ด๋Ÿฌํ•œ ํ™œ์„ฑํ™”๋Š” ์ฃผ๋กœ ์‚ฐํ™” ๋ฐ˜์‘์˜ ์ด‰์ง„์— ๊ธฐ์ธํ•œ ๊ฒƒ์œผ๋กœ ํ•ด์„๋œ๋‹ค. ๊ฒฐ๊ณผ์ ์œผ๋กœ, ์ค‘์„ฑ ์†Œ๊ธˆ๋ฌผ ํ™˜๊ฒฝ์—์„œ UNS A93003 ํ•ฉ๊ธˆ์˜ ๋ถ€์‹์€ ์—ผํ™”๋ฌผ ์ด์˜จ์— ์˜ํ•ด ์œ ๋„๋˜๋Š” ๊ตญ๋ถ€ ๋ถ€์‹ ๊ฑฐ๋™์œผ๋กœ ์„ค๋ช…ํ•  ์ˆ˜ ์žˆ๋‹ค.

์†Œ๊ธˆ๋ฌผ ๋†๋„๊ฐ€ ์ฆ๊ฐ€ํ•จ์— ๋”ฐ๋ผ ์ „๋ฅ˜(anodic current)์˜ ์ฆ๊ฐ€ ํญ๋„ ํ•จ๊ป˜ ์ปค์ง€๋ฉฐ, ์ด๋Š” ๊ทธ๋ฆผ 4์— ๋‚˜ํƒ€๋‚ธ ์ž„์˜์˜ ๊ณผ์ „์••(+10 mV ๋ฐ +20 mV)์—์„œ์˜ ์ „๋ฅ˜ ๋ฐ€๋„ ๊ฐ’์„ ํ†ตํ•ด ํ™•์ธํ•  ์ˆ˜ ์žˆ๋‹ค.

์†Œ๊ธˆ๋ฌผ ๋†๋„๊ฐ€ ์ฆ๊ฐ€ํ• ์ˆ˜๋ก +10 mV ๊ณผ์ „์••์—์„œ์˜ ์ „๋ฅ˜ ๋ฐ€๋„ (ia, ฮท=10 mV)์™€ +20 mV ๊ณผ์ „์••์—์„œ์˜ ์ „๋ฅ˜ ๋ฐ€๋„ (ia, ฮท=20 mV)๋Š” ์ง€์ˆ˜ํ•จ์ˆ˜์ ์œผ๋กœ ์ฆ๊ฐ€ํ•˜๋ฉฐ, ํŠนํžˆ +20 mV์—์„œ์˜ ์ฆ๊ฐ€ ํญ์ด ๋”์šฑ ๋šœ๋ ทํ•˜๊ฒŒ ๋‚˜ํƒ€๋‚œ๋‹ค. ๊ณผ์ „์••์ด +30 mV ์ด์ƒ์ด ๋˜๋ฉด ์ „๋ฅ˜ ๋ฐ€๋„๋Š” ์ด๋ฏธ 5 mAยทcm-2๋ฅผ ์ดˆ๊ณผํ•˜๊ฒŒ ๋˜๋ฉฐ, ์ด๋Š” ๊ตญ๋ถ€ ๋ถ€์‹์— ์˜ํ•œ ์ „ํŒŒ ๋ฐ˜์‘์ด ์ง€๋ฐฐ์ ์œผ๋กœ ์ž‘์šฉํ•จ์„ ์˜๋ฏธํ•œ๋‹ค. ๋”ฐ๋ผ์„œ UNS A93003 ํ•ฉ๊ธˆ์€ ์–‘๊ทน ๋ถ„๊ทน ์ƒํƒœ(์ž์—ฐ์  ๋˜๋Š” ์ธ์œ„์  ์กฐ๊ฑด) ํ•˜์—์„œ ์†Œ๋Ÿ‰์˜ ๊ณผ์ „์••์—๋„ ํ‘œ๋ฉด์—์„œ ๊ตญ๋ถ€ ๋ถ€์‹์ด ์‰ฝ๊ฒŒ ๋ฐœ์ƒํ•˜๊ณ  ๋น ๋ฅด๊ฒŒ ์ „ํŒŒ๋  ์ˆ˜ ์žˆ์Œ์„ ์•Œ ์ˆ˜ ์žˆ๋‹ค.

๊ทธ๋ฆผ 5๋Š” 5.0 wt% NaCl ์šฉ์•ก์—์„œ ๋™์ „์œ„ ์–‘๊ทน ๋ถ„๊ทน ์‹คํ—˜(ia 1 mAยทcm-2์—์„œ ์ข…๋ฃŒ) ํ›„ ์‹œํŽธ ํ‘œ๋ฉด์„ ์ฃผ์‚ฌ์ „์žํ˜„๋ฏธ๊ฒฝ(SEM)์˜ ํ›„๋ฐฉ ์‚ฐ๋ž€ ์ „์ž์ƒ(BSE) ๋ฐ EDS ๋งคํ•‘์„ ํ†ตํ•ด ๊ด€์ฐฐํ•œ ๊ฒฐ๊ณผ์ด๋‹ค. ๋ถ€์‹ ํ˜•์ƒ์ด ๊ด€์ฐฐ๋œ ๊ธˆ์†๊ฐ„ ํ™”ํ•ฉ๋ฌผ๋“ค ์ค‘์—์„œ๋„ ์ƒ๋Œ€์ ์œผ๋กœ ๋” ๋ฐ์€ ๋ถ€๋ถ„์ด ํ™•์ธ๋œ๋‹ค. EDS ์„ฑ๋ถ„ ๋ถ„์„ ๊ฒฐ๊ณผ, ์ด๋Ÿฌํ•œ ๋ฐ์€ ํ™”ํ•ฉ๋ฌผ๋“ค์€ Mn, Fe, Si ์›์†Œ๊ฐ€ ์ง‘์ค‘๋œ Alโ€“Mnโ€“Feโ€“Si ๊ณ„์—ด์˜ ๊ธˆ์†๊ฐ„ ํ™”ํ•ฉ๋ฌผ๋กœ ํ™•์ธ๋˜์—ˆ๋‹ค. ๋ฐ˜๋ฉด, ์ƒ๋Œ€์ ์œผ๋กœ ๋ถ€์‹์ด ๋งŽ์ด ๋ฐœ์ƒํ•˜์ง€ ์•Š์€ ์–ด๋‘์šด ๊ธˆ์† ๊ฐ„ ํ™”ํ•ฉ๋ฌผ๋“ค์€ Alโ€“Mnโ€“Fe ๊ณ„์—ด๋กœ ํŒ๋‹จ๋œ๋‹ค.

์ด๋Ÿฌํ•œ ๊ฒฐ๊ณผ๋Š” ๊ตญ๋ถ€ ๋ถ€์‹์ด ์ฃผ๋กœ Alโ€“Mnโ€“Feโ€“Si ๊ณ„์—ด ๊ธˆ์†๊ฐ„ ํ™”ํ•ฉ๋ฌผ ๋ถ€๊ทผ์—์„œ ๋จผ์ € ๊ฐœ์‹œ๋˜์—ˆ์Œ์„ ๋‚˜ํƒ€๋‚ด๋ฉฐ, ์ด๋Š” ์กฐ์„ฑ์— ๋”ฐ๋ฅธ ์ „๊ธฐํ™”ํ•™์  ํŠน์„ฑ ์ฐจ์ด์—์„œ ๊ธฐ์ธํ•˜๋Š” ๊ฒƒ์œผ๋กœ ํ•ด์„๋œ๋‹ค. ์‹ค์ œ๋กœ Davoodi ๋“ฑ์€ UNS A93003 ํ•ฉ๊ธˆ ๋‚ด ๊ธˆ์†๊ฐ„ ํ™”ํ•ฉ๋ฌผ์˜ Volta potential์„ SKPFM (Scanning Kelvin Probe Force Microscopy)์„ ํ†ตํ•ด ๋ถ„์„ํ•œ ๊ฒฐ๊ณผ, Alโ€“Mnโ€“Feโ€“Si ๊ณ„์—ด ํ™”ํ•ฉ๋ฌผ์ด Alโ€“Mnโ€“Fe ๊ณ„์—ด์— ๋น„ํ•ด ๊ธฐ์ง€์— ๋Œ€ํ•ด ๋” ๋†’์€ Volta potential ๊ฐ’์„ ๊ฐ€์ง€๋ฉฐ, ๋ณด๋‹ค ์Œ๊ทน์ ์ธ (cathodic) ํŠน์„ฑ์„ ๋ณด์ธ๋‹ค๊ณ  ๋ณด๊ณ ํ•˜์˜€๋‹ค[16]. ์ด๋Š” ๊ตญ๋ถ€์ ์œผ๋กœ ๋ฏธ์„ธ ๊ฐˆ๋ฐ”๋‹‰ ์ „์œ„๋ฅผ ํ˜•์„ฑํ•˜์—ฌ ํ•ด๋‹น ๊ธˆ์†๊ฐ„ ํ™”ํ•ฉ๋ฌผ ์ฃผ๋ณ€์—์„œ ๊ตญ๋ถ€ ๋ถ€์‹์„ ์œ ๋ฐœํ•˜๋Š” ์š”์ธ์ด ๋  ์ˆ˜ ์žˆ๋‹ค. ๋”ฐ๋ผ์„œ ๊ทธ๋ฆผ 5์—์„œ ๊ด€์ฐฐ๋œ ๋ฐ”์™€ ๊ฐ™์ด, Alโ€“Mnโ€“Feโ€“Si ๊ณ„์—ด ๊ธˆ์†๊ฐ„ ํ™”ํ•ฉ๋ฌผ ๋ถ€๊ทผ์—์„œ ๊ตญ๋ถ€ ๋ถ€์‹์ด ์šฐ์„ ์ ์œผ๋กœ ๋ฐœ์ƒํ•œ ํ˜„์ƒ์€ ํ•ด๋‹น ์ž…์ž์˜ ์ „๊ธฐํ™”ํ•™์  ์—๋„ˆ์ง€ ์ฐจ์ด์— ์˜ํ•ด ์œ ๋„๋œ ๊ฒƒ์œผ๋กœ ํ•ด์„๋˜๋ฉฐ, ์ด๋Š” ๊ธˆ์†๊ฐ„ ํ™”ํ•ฉ๋ฌผ ์กฐ์„ฑ์ด ๊ตญ๋ถ€ ๋ถ€์‹ ๊ฐœ์‹œ์— ์ค‘์š”ํ•œ ์—ญํ• ์„ ํ•  ์ˆ˜ ์žˆ๋‹ค๊ณ  ํŒ๋‹จํ•œ๋‹ค.

ํ•œํŽธ, ์ด์™€ ๊ฐ™์€ ๊ฒฝํ–ฅ์€ ํ•ฉ๊ธˆ ํ‘œ๋ฉด์—์„œ ์ดˆ๊ธฐ ๋‹จ๊ณ„์˜ ๊ตญ๋ถ€ ๋ถ€์‹ ๊ฐœ์‹œ ์œ„์น˜๋ฅผ ํŒ๋‹จํ•˜๋Š” ๋ฐ๋Š” ์œ ์šฉํ•˜์ง€๋งŒ, ๊ตญ๋ถ€ ๋ถ€์‹์˜ ์ค‘๊ธฐ์  ์ „ํŒŒ๋‚˜ ํ›„๊ธฐ ์ƒ์„ฑ๋ฌผ ํ˜•์„ฑ๊ณผ ๊ฐ™์€ ์ง„ํ–‰ ๊ณผ์ • ์ „์ฒด๋ฅผ ๋Œ€ํ‘œํ•œ๋‹ค๊ณ  ๋ณด๊ธฐ๋Š” ์–ด๋ ต๋‹ค. ๋ณธ ์‹คํ—˜์€ ์ œํ•œ๋œ ์ „๋ฅ˜ ๋ฐ€๋„(1 mAยทcm-2)์—์„œ ๋น„๊ต์  ์งง์€ ์‹œ๊ฐ„ ๋‚ด์— ์–‘๊ทน ๋ถ„๊ทน์„ ์ข…๋ฃŒํ•œ ์กฐ๊ฑด์ด๋ฉฐ, ์ด๋Š” ์ž์—ฐ ์นจ์ง€ ์กฐ๊ฑด์—์„œ์˜ ์ƒ์„ฑ๋ฌผ ์ถ•์ , ๊ณ„๋ฉด ๋ณ€ํ™”, ๋˜๋Š” ๋ถ€์‹ ์ „ํŒŒ์˜ ๋™์—ญํ•™์„ ์˜จ์ „ํžˆ ๋ฐ˜์˜ํ•˜๊ธฐ์—๋Š” ์ œํ•œ์ ์ด๋‹ค. ์‹ค์ œ ๋ถ€์‹ ํ™˜๊ฒฝ์—์„œ ๋ฐœ์ƒํ•˜๋Š” ๋ถ€์‹ ์ƒ์„ฑ๋ฌผ์˜ ๋ˆ„์ , ์ด์ฐจ ๋ฐ˜์‘, ํ‘œ๋ฉด์˜ ์ „๊ธฐํ™”ํ•™์  ์„ฑ์งˆ ๋ณ€ํ™” ๋“ฑ์€ ์žฅ๊ธฐ ์นจ์ง€ ์‹คํ—˜์ด๋‚˜ ํ‘œ๋ฉด ๋ถ„์„ ๊ธฐ๋ฒ•(์˜ˆ: ์žฅ์‹œ๊ฐ„ EIS, in-situ AFM/SECM, Raman mapping ๋“ฑ)์„ ํ†ตํ•ด ๋ถ„์„ํ•  ํ•„์š”๊ฐ€ ์žˆ๋‹ค.

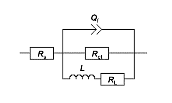
๊ทธ๋ฆผ 6์€ 50ยฐC์—์„œ 0.5, 1.5, 3.5, 5.0 wt% NaCl ์šฉ์•ก์—์„œ ์ธก์ •ํ•œ UNS A93003 ํ•ฉ๊ธˆ์˜ ์ „๊ธฐํ™”ํ•™์  ์ž„ํ”ผ๋˜์Šค ๋ถ„๊ด‘ ๋ถ„์„(Electrochemical Impedance Spectroscopy; EIS) ๊ฒฐ๊ณผ๋ฅผ ๋ณด๋ฐ ํ”Œ๋กฏ(Bode plot)์œผ๋กœ ๋‚˜ํƒ€๋‚ธ ๊ฒƒ์ด๋‹ค. ์ด๋ณด๋ฐ ํ”Œ๋กฏ์„ ํ”ผํŒ…ํ•˜๊ธฐ ์œ„ํ•œ ๋“ฑ๊ฐ€ํšŒ๋กœ(equivalent circuit)๋Š” CPE(Constant Phase Element) ๋ชจ๋ธ์„ ๊ธฐ๋ฐ˜์œผ๋กœ ๊ตฌ์„ฑ๋˜์—ˆ์œผ๋ฉฐ, ์ €ํ•ญ, CPE, ์ธ๋•ํ„ด์Šค ์š”์†Œ๋ฅผ ํฌํ•จํ•œ ํšŒ๋กœ๊ฐ€ ์‚ฌ์šฉ๋˜์—ˆ๋‹ค. ์‚ฌ์šฉ๋œ ๋“ฑ๊ฐ€ํšŒ๋กœ๋Š” ๊ทธ๋ฆผ 7์— ์ œ์‹œํ•˜์˜€๋‹ค.

๋ณธ ์—ฐ๊ตฌ์—์„œ๋Š” ์ „๊ธฐํ™”ํ•™ ์ž„ํ”ผ๋˜์Šค ๋ถ„์„์„ ์œ„ํ•ด Rs, Rct, Rf ์™ธ์— CPE ๋ฐ ์ธ๋•ํ„ด์Šค(L) ์š”์†Œ๋ฅผ ํฌํ•จํ•œ ๋“ฑ๊ฐ€ํšŒ๋กœ๋ฅผ ๋ชจ๋“  ํ”ผํŒ… ์กฐ๊ฑด์— ์ผ๊ด€๋˜๊ฒŒ ์ ์šฉํ•˜์˜€๋‹ค. ์ด๋Š” ๋ฐ์ดํ„ฐ ๊ฐ„ ๋น„๊ต๋ฅผ ์œ„ํ•œ ๊ฒƒ์ด๋‹ค. CPE๋Š” ์ „๊ทน/์ „ํ•ด์งˆ ๊ณ„๋ฉด์—์„œ์˜ ํ‘œ๋ฉด ๊ฑฐ์น ๊ธฐ, ์‚ฐํ™”๋ง‰ ๋‘๊ป˜ ๋ถ„ํฌ, ์กฐ์„ฑ ๋ถˆ๊ท ์ผ์„ฑ ๋“ฑ์œผ๋กœ ์ธํ•ด ๋ฐœ์ƒํ•˜๋Š” ๋น„์ด์ƒ์  ์ „ํ•˜ ๋ถ„ํฌ๋ฅผ ์ผ๋ถ€ ๋ฐ˜์˜ํ•˜๋ฉฐ, ์ผ๋ฐ˜์ ์ธ ์ •์ „์šฉ๋Ÿ‰ ํ•ญ๋ณด๋‹ค ๋ณต์žกํ•œ ๊ณ„๋ฉด ๋ฐ˜์‘์„ ๋ณด๋‹ค ์ž˜ ์„ค๋ช…ํ•  ์ˆ˜ ์žˆ๋‹ค. ํŠนํžˆ ๊ตญ๋ถ€ ๋ถ€์‹์ด ๋ฐœ์ƒํ•˜๋Š” ์กฐ๊ฑด์—์„œ๋Š” ์ด๋Ÿฌํ•œ ๊ณ„๋ฉด ํŠน์„ฑ์ด ์‹œ๊ฐ„ ๋ฐ ์œ„์น˜์— ๋”ฐ๋ผ ๋น„์ •ํ˜•์ ์œผ๋กœ ๋ณ€ํ•˜๋ฏ€๋กœ, Q ๊ณ„์ˆ˜์— ๋Œ€ํ•œ ์ •๋Ÿ‰์  ํ‰๊ฐ€๋ณด๋‹ค๋Š” ๋ฐ˜์‘ ํŠน์„ฑ์˜ ๊ฐ„์ ‘์  ํ•ด์„์„ ์œ„ํ•œ ์ง€ํ‘œ๋กœ ํ™œ์šฉํ•˜์˜€๋‹ค. ์ธ๋•ํ„ด์Šค(L)๋Š” ์ผ๋ฐ˜์ ์œผ๋กœ ์ €์ฃผํŒŒ์ˆ˜ ์˜์—ญ์—์„œ ๊ด€์ฐฐ๋˜๋Š” ์œ ๋„์„ฑ ๋ฃจํ”„ ํŠน์„ฑ์„ ๋ฐ˜์˜ํ•œ๋‹ค. ์ผ๋ฐ˜์ ์œผ๋กœ Cl- ํก์ฐฉ/ํƒˆ์ฐฉ ์ง€์—ฐ, ๋ถ€์‹ ์ƒ์„ฑ๋ฌผ์˜ ์ผ์‹œ์  ์ถ•์ , ์ค‘๊ฐ„์ฒด ์ „ํ™˜ ์†๋„์˜ ์ €ํ•˜ ๋“ฑ ์ƒ๋Œ€์ ์œผ๋กœ ์ง€์—ฐ๋œ ๊ณ„๋ฉด์˜ ์ „๊ธฐํ™”ํ•™์  ๋˜๋Š” ํ™”ํ•™์  ๋ฐ˜์‘์— ์˜ํ•ด ๋‚˜ํƒ€๋‚œ๋‹ค. ์ด๋Ÿฌํ•œ ํŠน์„ฑ์„ ๊ณ ๋ คํ•˜์—ฌ, ๋ณธ ์—ฐ๊ตฌ์—์„œ๋Š” CPE ๋ฐ ์ธ๋•ํ„ด์Šค ํ•ญ์€ ๋“ฑ๊ฐ€ํšŒ๋กœ ๊ตฌ์„ฑ ์š”์†Œ๋กœ ๋ชจ๋‘ ํฌํ•จํ•˜๋˜, ๊ตญ๋ถ€ ๋ถ€์‹ ๋ฐ˜์‘ ๊ณ„๋ฉด์—์„œ์˜ ๋น„์ •ํ˜•์„ฑ ๋•Œ๋ฌธ์—, ๊ฒฐ๊ณผ ํ•ด์„์€ ์ฃผ๋กœ ํ‘œ๋ฉด ์ €ํ•ญ(Rsurface)์˜ ๋ณ€ํ™” ๊ฒฝํ–ฅ์— ์ดˆ์ ์„ ๋งž์ถ”์—ˆ๋‹ค. ๋˜ํ•œ, ๋„์ถœ๋œ Rsurface ๊ฐ’๊ณผ ๊ฐ€์žฅ ๋‚ฎ์€ ์ฃผํŒŒ์ˆ˜(0.01 Hz)์—์„œ ์ธก์ •๋œ ์ž„ํ”ผ๋˜์Šค ์ ˆ๋Œ“๊ฐ’(|Z|0.01 Hz)์„ ๋น„๊ตํ•˜์—ฌ, ๋‘ ๊ฐ’ ๊ฐ„์˜ ์ฐจ์ด๊ฐ€ ํด ๊ฒฝ์šฐ ํšŒ๋กœ ๋ชจ๋ธ์„ ๋ณด์ •ํ•˜์˜€๋‹ค. ํ‘œ๋ฉด ์ €ํ•ญ Rsurface๋Š” ๋‹ค์Œ ์‹์„ ์ด์šฉํ•˜์—ฌ ๋„์ถœํ•˜์˜€๋‹ค.

(1)
R f = R ct + R s
(2)
1 R surface = 1 R f + 1 R L

์—ฌ๊ธฐ์„œ Rf๋Š” ํ”ผ๋ง‰ ์ €ํ•ญ, Rct๋Š” ์ „ํ•˜์ด๋™ ์ €ํ•ญ, Rs๋Š” ์šฉ์•ก ์ €ํ•ญ, Rsurface๋Š” ํ‘œ๋ฉด ์ €ํ•ญ, RL์€ ์ธ๋•ํ„ด์Šค์˜ ์ €ํ•ญ์„ ์˜๋ฏธํ•œ๋‹ค. Bode ์„ ๋„์—์„œ ๋‚˜ํƒ€๋‚œ ์ฃผํŒŒ์ˆ˜์— ๋”ฐ๋ฅธ ์ €ํ•ญ ๊ฐ’์€ ์ €์ฃผํŒŒ ์˜์—ญ์œผ๋กœ ๊ฐˆ์ˆ˜๋ก ์ฆ๊ฐ€ํ•˜๋Š” ๊ฒฝํ–ฅ์„ ๋ณด์ธ๋‹ค. ๋˜ํ•œ, UNS A93003 ์ „๊ทน์˜ ์นจ์ง€ ์‹œ๊ฐ„์ด 300 ์‹œ๊ฐ„๊นŒ์ง€ ์ฆ๊ฐ€ํ•จ์— ๋”ฐ๋ผ, ์†Œ๊ธˆ๋ฌผ ๋†๋„์™€ ๊ด€๊ณ„์—†์ด ์ €ํ•ญ ๊ฐ’์€ ์ „๋ฐ˜์ ์œผ๋กœ ๊ฐ์†Œํ•˜๋Š” ๊ฒฝํ–ฅ์„ ๋‚˜ํƒ€๋‚ธ๋‹ค. ์ด๋Š” ์‹œ๊ฐ„์— ๋”ฐ๋ผ ํ‘œ๋ฉด ๋ฐ ๊ณ„๋ฉด์—์„œ์˜ ์ „๊ธฐํ™”ํ•™ ๋ฐ˜์‘์— ์˜ํ•ด ์ €ํ•ญ์ด ๊ฐ์†Œํ•จ์„ ์˜๋ฏธํ•œ๋‹ค. ์ผ๋ฐ˜์ ์œผ๋กœ ์ƒ์ „์ด(angle phase shift, ฮธ) ๊ฐ’์ด ์Œ์˜ ์˜์—ญ์—์„œ โˆ’90ยฐ์— ๊ฐ€๊นŒ์›Œ์ง€๋ฉด, ํ•ด๋‹น ๊ณ„๋ฉด์€ ์ถ•์ „(capacitive) ํŠน์„ฑ์„ ๊ฐ€์ง€๋Š” ๊ฒƒ์œผ๋กœ ํ•ด์„๋œ๋‹ค. ๋ฐ˜๋ฉด, ฮธ๊ฐ€ ์–‘์˜ ์˜์—ญ์—์„œ +90ยฐ์— ๊ฐ€๊นŒ์›Œ์งˆ ๊ฒฝ์šฐ, ์œ ๋„(inductive) ํŠน์„ฑ์„ ๋‚˜ํƒ€๋‚ธ๋‹ค. ์นจ์ง€ ์‹œ๊ฐ„์ด ๊ฒฝ๊ณผํ•จ์— ๋”ฐ๋ผ ฮธ ๊ฐ’์ด ๋ณ€ํ™”ํ•จ์€, UNS A93003 ์ „๊ทน์˜ ํ‘œ๋ฉด์—์„œ ์œ ๋„ ๋ฐ ์ถ•์ „ ํŠน์„ฑ์ด ํ˜ผ์žฌ๋œ ์ „๊ธฐํ™”ํ•™ ๋ฐ˜์‘์ด ์ง„ํ–‰๋˜๊ณ  ์žˆ์Œ์„ ์‹œ์‚ฌํ•œ๋‹ค.

๊ทธ๋ฆผ 8์€ ํ‘œ๋ฉด ํŠน์„ฑ์„ ๋‚˜ํƒ€๋‚ด๋Š” ๋งค๊ฐœ๋ณ€์ˆ˜ ์ค‘ ํ•˜๋‚˜์ธ ํ‘œ๋ฉด ์ €ํ•ญ(Rsurface) ๊ฐ’์ด ์†Œ๊ธˆ๋ฌผ ๋†๋„์™€ ์นจ์ง€ ์‹œ๊ฐ„์— ๋”ฐ๋ผ ๋ณ€ํ™”ํ•˜๋Š” ์–‘์ƒ์„ ๋‚˜ํƒ€๋‚ธ ๊ฒƒ์ด๋‹ค. ์ (scatter)์œผ๋กœ ํ‘œ์‹œํ•œ ๊ฐ’์€ ๊ณ„์‚ฐ๋œ Rsurface์˜ ์‹ค์ œ ์ธก์ •๊ฐ’์ด๋ฉฐ, ์„ (line)์€ ํ•ด๋‹น ๋ฐ์ดํ„ฐ๋ฅผ ํ”ผํŒ… ํ•œ ๊ฒฐ๊ณผ์ด๋‹ค. ์†Œ๊ธˆ๋ฌผ ๋†๋„์™€ ๊ด€๊ณ„์—†์ด, ์นจ์ง€ ์ดˆ๊ธฐ์—๋Š” ์ €ํ•ญ ๊ฐ’์ด ์ผ์‹œ์ ์œผ๋กœ ์ฆ๊ฐ€ํ•˜๋‹ค๊ฐ€ 24 ์‹œ๊ฐ„ ์ดํ›„ ๊ธ‰๊ฒฉํžˆ ๊ฐ์†Œํ•˜๋Š” ๊ฒฝํ–ฅ์„ ๋ณด์˜€๋‹ค. ์ดํ›„ ์นจ์ง€ ์‹œ๊ฐ„์ด ์ฆ๊ฐ€ํ• ์ˆ˜๋ก ์ €ํ•ญ ๊ฐ’์€ ์ง€์†์ ์œผ๋กœ ๊ฐ์†Œํ•˜์—ฌ, ์ƒ๋Œ€์ ์œผ๋กœ ๋‚ฎ์€ ์ˆ˜์ค€์ด 300 ์‹œ๊ฐ„๊นŒ์ง€ ์œ ์ง€๋˜์—ˆ๋‹ค. ์ด๋Š” ์นจ์ง€ ์‹œ๊ฐ„์˜ ์ฆ๊ฐ€์— ๋”ฐ๋ผ ํ‘œ๋ฉด์˜ ์ „๊ธฐ์  ๋ฐ ์ „๊ธฐํ™”ํ•™์  ์ „๋„๋„๊ฐ€ ํ–ฅ์ƒ๋˜๊ณ  ์žˆ์Œ์„ ์˜๋ฏธํ•œ๋‹ค. ๋˜ํ•œ, ์†Œ๊ธˆ๋ฌผ ๋†๋„๊ฐ€ ์ฆ๊ฐ€ํ• ์ˆ˜๋ก ๋™์ผํ•œ ์นจ์ง€ ์‹œ๊ฐ„์—์„œ์˜ Rsurface ๊ฐ’์€ ๋‚ฎ์•„์ง€๋Š” ๊ฒฝํ–ฅ์„ ๋ณด์˜€๋‹ค. ์ด๋Ÿฌํ•œ ํ˜„์ƒ์€ ์†Œ๊ธˆ๋ฌผ ๋‚ด ์ด์˜จ ๋†๋„ ์ฆ๊ฐ€์— ๋”ฐ๋ผ ํ‘œ๋ฉด ์ „๋„๋„๊ฐ€ ๋†’์•„์ง€๊ณ , ์—ผํ™”๋ฌผ ์ด์˜จ์— ์˜ํ•œ ์ „๊ธฐํ™”ํ•™ ๋ฐ˜์‘์ด ๋”์šฑ ํ™œ์„ฑํ™” ๋œ ๊ฒฐ๊ณผ๋กœ ํ•ด์„๋œ๋‹ค.

๊ทธ๋ฆผ 9๋Š” 50ยฐC์—์„œ 5.0 wt% NaCl ์šฉ์•ก์— ์นจ์ง€ํ•˜๊ธฐ (a) ์ „๊ณผ (b) 300 ์‹œ๊ฐ„ ์นจ์ง€ ํ•œ ํ›„, UNS A93003 ์‹œํŽธ ํ‘œ๋ฉด์˜ SEM ์ด์ฐจ์ „์ž์ƒ ์‚ฌ์ง„(secondary electron image)๊ณผ EDS ๋งตํ•‘ ๊ฒฐ๊ณผ๋ฅผ ๋‚˜ํƒ€๋‚ธ ๊ฒƒ์ด๋‹ค. ์นจ์ง€ ์ „ ์‹œํŽธ์—์„œ๋Š” ์—ฐ๋งˆ ํ”์ ์ด ๊ด€์ฐฐ๋˜์—ˆ์œผ๋ฉฐ, ๋šœ๋ ทํ•œ ๋ถ€์‹ ํ˜•ํƒœ๋Š” ํ™•์ธ๋˜์ง€ ์•Š์•˜๋‹ค. ๋ฐ˜๋ฉด, 300 ์‹œ๊ฐ„ ์นจ์ง€ ํ•œ ์‹œํŽธ์—์„œ๋Š” ์ด์ฐจ์ „์ž์ƒ์—์„œ ์ˆ˜๋ฐฑ ฮผm ๊ทœ๋ชจ์˜ ์ง๊ฒฝ๊ณผ ๊นŠ์ด๋ฅผ ๊ฐ€์ง€๋Š” ๊ตญ๋ถ€ ๋ถ€์‹ ํ˜•์ƒ์ด ๊ด€์ฐฐ๋˜์—ˆ๋‹ค. ๊ตญ๋ถ€ ๋ถ€์‹ ๋ฐœ์ƒ ๋ถ€์œ„ ์ฃผ๋ณ€์˜ ์›์†Œ ๋ถ„ํฌ๋ฅผ ๋ถ„์„ํ•œ ๊ฒฐ๊ณผ, ํ•ด๋‹น ์˜์—ญ์—์„œ๋Š” Al์˜ ๋†๋„๊ฐ€ ๊ฐ์†Œํ•˜๊ณ  O์˜ ๋†๋„๊ฐ€ ์ฆ๊ฐ€ํ•˜๋Š” ๊ฒฝํ–ฅ์„ ๋ณด์˜€๋‹ค. ์ด๋Š” ํ‘œ๋ฉด์— ํ˜•์„ฑ๋œ Al ๊ณ„์—ด ๋ถ€์‹ ์ƒ์„ฑ๋ฌผ์— ๊ธฐ์ธํ•œ ๊ฒƒ์œผ๋กœ ํŒ๋‹จ๋œ๋‹ค.

๊ทธ๋ฆผ 10์€ 50o C์—์„œ 5.0 wt% NaCl ์šฉ์•ก์— ์นจ์ง€ํ•˜๊ธฐ ์ „๊ณผ 300 ์‹œ๊ฐ„ ์นจ์ง€ ํ•œ ํ›„, UNS A93003 ์‹œํŽธ ํ‘œ๋ฉด์—์„œ ์ธก์ •ํ•œ ๋ผ๋งŒ ์ŠคํŽ™ํŠธ๋Ÿผ(Raman spectrum)์„ ๋‚˜ํƒ€๋‚ธ ๊ฒƒ์ด๋‹ค. ๋ผ๋งŒ ์‹œํ”„ํŠธ(Raman shift)๊ฐ€ ์ž‘์€ ์˜์—ญ์—์„œ๋Š” ์ž…์‚ฌ๊ด‘์˜ ์—๋„ˆ์ง€๊ฐ€ ๋ณ€ํ•˜์ง€ ์•Š๊ณ  ์‚ฐ๋ž€๋˜๋Š” ๋ ˆ์ผ๋ฆฌ ์‚ฐ๋ž€(Rayleigh scattering)์— ํ•ด๋‹นํ•˜๋ฏ€๋กœ, ๊ฐ„ํ˜น ํ”ผํฌ์™€ ์œ ์‚ฌํ•œ ํ˜•ํƒœ์˜ ์ŠคํŽ™ํŠธ๋Ÿผ์ด ์ธก์ •๋  ์ˆ˜ ์žˆ๋‹ค. ์ผ๋ฐ˜์ ์œผ๋กœ, ๋ผ๋งŒ ์‹œํ”„ํŠธ๊ฐ€ 200 cm-1 ์ดํ•˜์ธ ์˜์—ญ์—์„œ๋Š” Al, O ๋“ฑ์˜ ์›์†Œ๊ฐ€ ํฌํ•จ๋œ ํ™”ํ•ฉ๋ฌผ์˜ ๋ผ๋งŒ ์‚ฐ๋ž€ ์ง„๋™์ˆ˜๊ฐ€ ๋‚˜ํƒ€๋‚˜์ง€ ์•Š๋Š” ๊ฒƒ์œผ๋กœ ์•Œ๋ ค์ ธ ์žˆ๋‹ค[17,18]. ๋ฐ˜๋ฉด, 500 cm-1 ์ด์ƒ์˜ ๋ผ๋งŒ ์‹œํ”„ํŠธ ์˜์—ญ์—์„œ๋Š” ํ˜•๊ด‘(fluorescence) ์‹ ํ˜ธ์˜ ์˜ํ–ฅ์œผ๋กœ ๊ฐ•๋„๊ฐ€ ์ฆ๊ฐ€ํ•˜๋Š” ๊ฒฝํ–ฅ์ด ๊ด€์ฐฐ๋œ๋‹ค. ๋”ฐ๋ผ์„œ ๋ณธ ์—ฐ๊ตฌ์—์„œ๋Š” ์‹œํŽธ ํ‘œ๋ฉด์—์„œ ์ธก์ •๋œ ๋ผ๋งŒ ์ŠคํŽ™ํŠธ๋Ÿผ ์ค‘ 200โ€“500 cm-1 ๋ฒ”์œ„์—์„œ ๋‚˜ํƒ€๋‚˜๋Š” ํ”ผํฌ๋ฅผ ์ค‘์‹ฌ์œผ๋กœ ๋ถ„์„์„ ์ˆ˜ํ–‰ํ•˜์˜€๋‹ค.

์นจ์ง€ ์ „ ์‹œํŽธ์—์„œ๋Š” ํ•ด์„ ๊ฐ€๋Šฅํ•œ ๋ผ๋งŒ ํ”ผํฌ๊ฐ€ ๋ช…ํ™•ํžˆ ๊ด€์ฐฐ๋˜์ง€ ์•Š์•˜๋‹ค. ์ด๋Š” ํ‘œ๋ฉด์— ํ˜•์„ฑ๋œ ์ƒ์„ฑ๋ฌผ์ด๋‚˜ ์‚ฐํ™”๋ฌผ ํ”ผ๋ง‰์˜ ์–‘์ด ์ ์–ด, ๋ผ๋งŒ ์‚ฐ๋ž€์œผ๋กœ ๊ฒ€์ถœ๋˜๊ธฐ ์–ด๋ ค์› ๊ธฐ ๋•Œ๋ฌธ์œผ๋กœ ํŒ๋‹จ๋œ๋‹ค. ๊ทธ๋Ÿฌ๋‚˜ 300 ์‹œ๊ฐ„ ์นจ์ง€ ํ›„, ์‹œํŽธ ํ‘œ๋ฉด์—์„œ ๊ตญ๋ถ€ ๋ถ€์‹์ด ์ง„ํ–‰๋˜์—ˆ์œผ๋ฉฐ, ๋ถ€์‹์ด ๋ฐœ์ƒํ•œ ๋ถ€์œ„ ์ฃผ๋ณ€์—์„œ ์ธก์ •ํ•œ ๋ผ๋งŒ ์ŠคํŽ™ํŠธ๋Ÿผ์—์„œ๋Š” 350โ€“360 cm-1 ์˜์—ญ์—์„œ ๋šœ๋ ทํ•œ ํ”ผํฌ๊ฐ€ ํ™•์ธ๋˜์—ˆ๋‹ค. ํ•ด๋‹น ํ”ผํฌ๋Š” Alโ€“Oโ€“OH ๊ณ„์—ด ํ™”ํ•ฉ๋ฌผ์˜ ์ง„๋™ ๋ชจ๋“œ์— ๊ธฐ์ธํ•œ ๊ฒƒ์œผ๋กœ ํ•ด์„๋œ๋‹ค[17,18]. ๋ถ€์‹ ์ƒ์„ฑ๋ฌผ์€ ์ผ๋ฐ˜์ ์œผ๋กœ ๊ฒฐ์ •์„ฑ์ด ๋‚ฎ๊ณ , ํ™”ํ•™์–‘๋ก ์ด ์ผ์ •ํ•˜์ง€ ์•Š์œผ๋ฉฐ, ๊ตฌ์กฐ ๋˜ํ•œ ์‹œ๊ฐ„์— ๋”ฐ๋ผ ๋ณ€ํ™”ํ•œ๋‹ค. ๋”ฐ๋ผ์„œ ๋ช…ํ™•ํ•œ ๊ฒฐ์ • ๊ตฌ์กฐ๋‚˜ ๊ด‘๋ฌผํ•™์  ์กฐ์„ฑ์„ ๋‹จ์ •ํ•˜๊ธฐ๋Š” ์–ด๋ ค์šฐ๋ฉฐ, ์ฃผ๋กœ Al ๊ณ„์—ด์˜ ์ˆ˜์‚ฐํ™”๋ฌผ ๋ฐ ์‚ฐํ™”๋ฌผ ๋ณตํ•ฉ์ธต์ด ํ˜•์„ฑ๋œ ๊ฒƒ์œผ๋กœ ํ•ด์„๋œ๋‹ค[19]. ๊ด€์ฐฐ๋œ ํ”ผํฌ๋Š” Boehmite (ฮณ-AlOOH)์˜ ํŠน์„ฑ ์ง„๋™์ˆ˜[17]์™€ ์ผ์น˜ํ•˜๋ฉฐ, pseudo-boehmite ๊ณ„์—ด[18]์—์„œ๋„ ์œ ์‚ฌํ•œ ์˜์—ญ์—์„œ ๋ณด๊ณ ๋œ ๋ฐ” ์žˆ๋‹ค. Boehmite๋Š” Alโ€“O ๋ฐ Alโ€“OH ๊ฒฐํ•ฉ์ด ํ˜ผ์žฌ๋œ ๊ตฌ์กฐ๋กœ, ์ˆ˜์‚ฐํ™”๋ฌผ๊ณผ ์‚ฐํ™”๋ฌผ์˜ ์ค‘๊ฐ„์  ์„ฑ๊ฒฉ์„ ๊ฐ–๋Š” ๋ณตํ•ฉ ์ƒ์ด๋‹ค. ์ด๋Ÿฌํ•œ ํŠน์„ฑ์€ ๋ถ€์‹ ํ™˜๊ฒฝ์—์„œ ํ˜•์„ฑ๋˜๋Š” ๋น„์ •์งˆ ์‚ฐํ™”๋ฌผโ€“์ˆ˜์‚ฐํ™”๋ฌผ๊ณผ ์œ ์‚ฌํ•˜๋ฏ€๋กœ[20], ๋ณธ ์—ฐ๊ตฌ์—์„œ๋Š” ํ•ด๋‹น ํ”ผํฌ๋ฅผ ํŠน์ • ๊ฒฐ์ •์ƒ์œผ๋กœ ํ•œ์ •ํ•˜๊ธฐ๋ณด๋‹ค๋Š”, Alโ€“Oโ€“OH ๊ณ„์—ด์˜ ์ค€์•ˆ์ • ๋ณตํ•ฉ์ฒด ํ˜•์„ฑ์„ ์ง€์‹œํ•˜๋Š” ์ •์„ฑ์  ์ง€ํ‘œ๋กœ ํ•ด์„ํ•˜์˜€๋‹ค.

๋ณธ ์—ฐ๊ตฌ์—์„œ๋Š” UNS A93003 ํ•ฉ๊ธˆ์˜ ์—ผํ™”๋ฌผ ํ™˜๊ฒฝ์—์„œ์˜ ๋ถ€์‹ ๊ฑฐ๋™์„ ์กฐ์‚ฌํ•˜์˜€๋‹ค. ๊ทธ๋ฆผ 9b์—์„œ ํ™•์ธํ•  ์ˆ˜ ์žˆ๋“ฏ์ด, 300 ์‹œ๊ฐ„ ์นจ์ง€ ํ›„ ์‹œํŽธ ํ‘œ๋ฉด์—์„œ๋Š” ์ˆ˜๋ฐฑ ฮผm ํฌ๊ธฐ์˜ ๊ตญ๋ถ€ ๋ถ€์‹์ด ๊ด€์ฐฐ๋˜์—ˆ์œผ๋ฉฐ, ์ด๋Š” ์—ผํ™”๋ฌผ ํ™˜๊ฒฝ์—์„œ ๋ฐœ์ƒํ•˜๋Š” ๋ถ€์‹์ด ์ฃผ๋กœ ๊ตญ๋ถ€ ๋ถ€์‹ ํ˜•ํƒœ๋กœ ์ง„ํ–‰๋จ์„ ์‹œ์‚ฌํ•œ๋‹ค. ๋˜ํ•œ, ๋™์ „์œ„ ์–‘๊ทน ๋ถ„๊ทน ์‹œ ๋‚˜ํƒ€๋‚˜๋Š” ์–‘๊ทน ์ „๋ฅ˜์˜ ์ฆ๊ฐ€๋Š” ๊ตญ๋ถ€ ๋ถ€์‹์— ์˜ํ•ด ์œ ๋„๋˜๋Š” ์‚ฐํ™” ์ „๋ฅ˜์˜ ์ฆ๊ฐ€์™€ ๋ฐ€์ ‘ํ•œ ๊ด€๋ จ์ด ์žˆ๋Š” ๊ฒƒ์œผ๋กœ ํŒ๋‹จ๋œ๋‹ค.

EIS ์‹คํ—˜์—์„œ ๋„์ถœ๋œ ํ‘œ๋ฉด ์ €ํ•ญ ๊ฐ’์€ ์ž์—ฐ ์นจ์ง€ ์กฐ๊ฑด์—์„œ ํ•ฉ๊ธˆ ํ‘œ๋ฉด์˜ ์ „๊ธฐํ™”ํ•™์  ๋ฐ˜์‘ ํŠน์„ฑ์„ ๋ฐ˜์˜ํ•œ๋‹ค. ์ดˆ๊ธฐ ํ‘œ๋ฉด ์ €ํ•ญ์˜ ์ฆ๊ฐ€๋Š” ๊ตญ๋ถ€ ๋ถ€์‹์˜ ๊ฐœ์‹œ ๋ฐ ์ „ํŒŒ, ํ‘œ๋ฉด์˜ ๋ถ€๋™ํƒœ(passivation) ๋ฐ ์žฌ๋ถ€๋™ํƒœํ™”(re-passivation) ๊ณผ์ •์ด ๋ณตํ•ฉ์ ์œผ๋กœ ์ž‘์šฉํ•œ ๊ฒฐ๊ณผ์ด๋ฉฐ, ์ด ์ค‘์—์„œ๋„ ํ‘œ๋ฉด ๋ถ€๋™ํƒœํ™” ๋ฐ ์žฌ๋ถ€๋™ํƒœํ™”๊ฐ€ ์ง€๋ฐฐ์ ์ธ ๋ฐ˜์‘์œผ๋กœ ํŒ๋‹จ๋œ๋‹ค. ๊ทธ๋Ÿฌ๋‚˜ ์นจ์ง€ 24 ์‹œ๊ฐ„ ์ดํ›„์—๋Š” ์†Œ๊ธˆ๋ฌผ ๋†๋„์™€ ๋ฌด๊ด€ํ•˜๊ฒŒ ํ‘œ๋ฉด ์ €ํ•ญ์ด ๊ธ‰๊ฒฉํžˆ ๊ฐ์†Œํ•˜์˜€์œผ๋ฉฐ, ์ด๋Š” ๊ตญ๋ถ€ ๋ถ€์‹์˜ ๊ฐœ์‹œ ๋ฐ ์ „ํŒŒ๊ฐ€ ์ฃผ๋œ ๋ฐ˜์‘์œผ๋กœ ์ „ํ™˜๋˜์—ˆ์Œ์„ ์˜๋ฏธํ•œ๋‹ค. ์ดํ›„ 300 ์‹œ๊ฐ„๊นŒ์ง€ ํ‘œ๋ฉด ์ €ํ•ญ์ด ์ง€์†์ ์œผ๋กœ ๊ฐ์†Œํ•˜๊ณ  ๋‚ฎ์€ ์ˆ˜์ค€์„ ์œ ์ง€ํ•˜๋Š” ๊ฒƒ์€ ๊ตญ๋ถ€ ๋ถ€์‹์ด ๊ณ„์† ์ง„ํ–‰๋˜๊ณ  ์žˆ์Œ์„ ๋‚˜ํƒ€๋‚ธ๋‹ค. ์ด๋Ÿฌํ•œ UNS A93003 ํ•ฉ๊ธˆ ํ‘œ๋ฉด์—์„œ์˜ ๊ตญ๋ถ€ ๋ถ€์‹ ๊ฑฐ๋™์€ ๋ถ€์‹ ์ƒ์„ฑ๋ฌผ๋กœ์„œ ์•Œ๋ฃจ๋ฏธ๋Š„ ์‚ฐํ™”๋ฌผ ๋ฐ ์ˆ˜์‚ฐํ™”๋ฌผ์˜ ํ˜•์„ฑ์œผ๋กœ ์ด์–ด์ง€๋ฉฐ, ์ด๋“ค์€ ์ฃผ๋กœ ๊ตญ๋ถ€ ๋ถ€์‹ ๋ฐœ์ƒ ๋ถ€์œ„ ์ฃผ๋ณ€์— ์ง‘์ค‘๋œ๋‹ค. ํ˜•์„ฑ๋œ ๋ถ€์‹ ์ƒ์„ฑ๋ฌผ์€ ์ถ”๊ฐ€์ ์ธ ํ™˜์› ๋ฐ˜์‘์„ ์ด‰์ง„ํ•  ์ˆ˜ ์žˆ์–ด, ๋ถ€์‹ ๋ฐ˜์‘์˜ ์ง€์†์„ฑ๊ณผ ํ™•์‚ฐ์— ๊ธฐ์—ฌํ•  ๊ฐ€๋Šฅ์„ฑ์ด ์žˆ๋‹ค.

๋ณธ ์—ฐ๊ตฌ๋Š” ์ „๊ธฐํ™”ํ•™์  ์ž„ํ”ผ๋˜์Šค ๋ถ„๊ด‘ ๋ถ„์„(EIS), ์นจ์ง€ ์‹œํ—˜, ๊ทธ๋ฆฌ๊ณ  ์‹œ๊ฐ„์— ๋”ฐ๋ฅธ ์ „๊ธฐํ™”ํ•™์  ๋งค๊ฐœ๋ณ€์ˆ˜์˜ ๋ณ€ํ™”๋ฅผ ์ข…ํ•ฉ์ ์œผ๋กœ ๋ถ„์„ํ•˜์˜€๋‹ค. ๊ธฐ์กด ์—ฐ๊ตฌ๋“ค์€ ๋™์ „์œ„ ๋ถ„๊ทน, ์นจ์ง€ ์‹œํ—˜, EIS ๋ถ„์„ ๋“ฑ์„ ๊ฐœ๋ณ„์ ์œผ๋กœ ์ˆ˜ํ–‰ํ•˜์—ฌ UNS A93003 ํ•ฉ๊ธˆ์˜ ๊ตญ๋ถ€ ๋ถ€์‹ ๊ฑฐ๋™์„ ํ‰๊ฐ€ํ•œ ์‚ฌ๋ก€๋Š” ๋งŽ์•˜์œผ๋‚˜, ์‹œ๊ฐ„ ๊ฒฝ๊ณผ์— ๋”ฐ๋ฅธ ๋ณ€ํ™” ๊ฑฐ๋™์„ ์ฒด๊ณ„์ ์œผ๋กœ ๋ถ„์„ํ•œ ์—ฐ๊ตฌ๋Š” ๋“œ๋ฌธ ์‹ค์ •์ด๋‹ค. ๊ธˆ์†์˜ ๋ถ€์‹์€ ๋…ธ์ถœ๋œ ํ™˜๊ฒฝ๊ณผ์˜ ์ƒํ˜ธ์ž‘์šฉ์— ์˜ํ•ด ์‹œ๊ฐ„์— ๋”ฐ๋ผ ์ง„ํ–‰๋˜๋Š” ๋ณตํ•ฉ์ ์ธ ํ˜„์ƒ์ด๋ฉฐ, ์ „๊ธฐํ™”ํ•™์  ๋งค๊ฐœ๋ณ€์ˆ˜์˜ ์‹œ๊ฐ„์  ๋ณ€ํ™”์™€ ๊ตญ๋ถ€ ๋ถ€์‹ ๊ฑฐ๋™ ๊ฐ„์˜ ์ƒ๊ด€๊ด€๊ณ„๋ฅผ ์ดํ•ดํ•˜๋Š” ๊ฒƒ์ด ๋งค์šฐ ์ค‘์š”ํ•˜๋‹ค. ๋ณธ ์—ฐ๊ตฌ๋Š” ์ด๋Ÿฌํ•œ ์‹œ๊ฐ„ ๋ณ€ํ™”๋ฅผ ๊ณ ๋ คํ•˜์—ฌ ์ „๊ธฐํ™”ํ•™์  ํŠน์„ฑ ๋ณ€์ˆ˜๋ฅผ ์ •๋Ÿ‰์ ์œผ๋กœ ๋„์ถœํ•จ์œผ๋กœ์จ, UNS A93003 ํ•ฉ๊ธˆ์˜ ๋ถ€์‹ ๋ฉ”์ปค๋‹ˆ์ฆ˜์— ๋Œ€ํ•œ ๊ธฐ์ดˆ์ ์ธ ์ •๋ณด๋ฅผ ์ œ๊ณตํ•˜์˜€๋‹ค. ๋”ฐ๋ผ์„œ ๋ณธ ์—ฐ๊ตฌ์—์„œ ์ œ์‹œํ•œ ์žฅ๊ธฐ EIS ๊ธฐ๋ฐ˜ ์ €ํ•ญ ๊ฐ’์˜ ๋ณ€ํ™” ํ•ด์„์€, ๊ตญ๋ถ€ ๋ถ€์‹์˜ ์ƒ๋Œ€์  ๊ฒฝํ–ฅ์„ ํŒŒ์•…ํ•  ์ˆ˜ ์žˆ๋Š” ๋ถ„์„ ํ‹€์„ ์ œ๊ณตํ•˜๋ฉฐ, ํ–ฅํ›„ ๋‹ค์–‘ํ•œ ์ƒ์šฉ ์•Œ๋ฃจ๋ฏธ๋Š„ ํ•ฉ๊ธˆ ๊ฐ„์˜ ๊ตญ๋ถ€ ๋ถ€์‹์ €ํ•ญ์„ฑ ๋น„๊ต๋‚˜ ์‹ค์ œ ํ™˜๊ฒฝ ํ‰๊ฐ€ ๊ธฐ๋ฐ˜์˜ ๋ถ€์‹ ์ง„๋‹จ ์ง€ํ‘œ๋กœ๋„ ํ™œ์šฉ ๊ฐ€๋Šฅ์„ฑ์ด ์žˆ๋‹ค. ๋ณธ ์—ฐ๊ตฌ๋Š” ํŠน์ • ๋ฐฉ์ง€ ์ „๋žต์˜ ์ œ์‹œ๋ณด๋‹ค๋Š”, ์‹ค์ œ ํ™˜๊ฒฝ์— ๊ทผ์ ‘ํ•œ ์กฐ๊ฑด์—์„œ ์ „๊ธฐํ™”ํ•™ ๋ฐ˜์‘์„ฑ์„ ์‹œ๊ฐ„ ์ถ•์—์„œ ํ‰๊ฐ€ํ•˜๊ณ  ํ•ด์„ํ•˜๋Š” ๋ฐ ์ค‘์ ์„ ๋‘์—ˆ์œผ๋ฉฐ, ์ด๋Ÿฌํ•œ ๋ถ„์„ ์ฒด๊ณ„๋Š” ์‹ค์šฉ์  ๊ธฐ์ˆ  ๊ฐœ๋ฐœ์˜ ๊ธฐ์ดˆ ์ž๋ฃŒ๋กœ์„œ๋„ ์˜๋ฏธ๋ฅผ ๊ฐ€์ง„๋‹ค. ํ–ฅํ›„ ๋ณธ ์ €์ž๋“ค์€ ์•Œ๋ฃจ๋ฏธ๋Š„ ํ•ฉ๊ธˆ์— ๋Œ€ํ•œ ์—ฐ ๋‹จ์œ„ ์žฅ๊ธฐ ๋ถ€์‹ ์‹œํ—˜์„ ํ†ตํ•ด ์‹œ๊ฐ„ ๊ธฐ๋ฐ˜ ๋ถ€์‹ ๋ฐ์ดํ„ฐ๋ฅผ ์ถ•์ ํ•˜๊ณ , ์ด๋ฅผ ๋ฐ”ํƒ•์œผ๋กœ ๊ตญ๋ถ€ ๋ถ€์‹ ๊ฑฐ๋™์— ๋Œ€ํ•œ ์‹ฌ์ธต์ ์ธ ์ดํ•ด๋ฅผ ๋„๋ชจํ•˜๊ณ ์ž ํ•œ๋‹ค. ์ด๋Ÿฌํ•œ ์—ฐ๊ตฌ๋Š” ์•Œ๋ฃจ๋ฏธ๋Š„ ํ•ฉ๊ธˆ์˜ ๋‚ด๊ตฌ์„ฑ ํ–ฅ์ƒ ๋ฐ ๋ถ€์‹ ๋ฐฉ์ง€ ๊ธฐ์ˆ  ๊ฐœ๋ฐœ์— ๊ธฐ์—ฌํ•  ์ˆ˜ ์žˆ์„ ๊ฒƒ์œผ๋กœ ๊ธฐ๋Œ€๋œ๋‹ค.

4. ๊ฒฐ ๋ก 

๋ณธ ์—ฐ๊ตฌ์—์„œ๋Š” UNS A93003 ํ•ฉ๊ธˆ์˜ ์—ผํ™”๋ฌผ ํ™˜๊ฒฝ์—์„œ ๋‚˜ํƒ€๋‚˜๋Š” ๊ตญ๋ถ€ ๋ถ€์‹ ๊ฑฐ๋™์„ ๋™์ „์œ„ ๋ถ„๊ทน ์‹คํ—˜, ์ „๊ธฐํ™”ํ•™์  ์ž„ํ”ผ๋˜์Šค ๋ถ„์„(EIS), ํ‘œ๋ฉด ๋ถ„์„ ๊ธฐ๋ฒ•์„ ํ†ตํ•ด ์ข…ํ•ฉ์ ์œผ๋กœ ๊ฒ€ํ† ํ•˜์˜€๋‹ค. ๋™์ „์œ„ ๋ถ„๊ทน ๊ณก์„  ๋ถ„์„ ๊ฒฐ๊ณผ, ์†Œ๊ธˆ๋ฌผ ๋†๋„๊ฐ€ ์ฆ๊ฐ€ํ• ์ˆ˜๋ก ๋™์ผํ•œ ๊ณผ์ „์••์—์„œ ๋” ๋†’์€ ์–‘๊ทน ์ „๋ฅ˜(anodic current)๊ฐ€ ํ˜๋ €๊ณ , ์ด์— ๋”ฐ๋ผ ๊ตญ๋ถ€ ๋ถ€์‹์ด ๊ฐ€์†ํ™”๋˜๋Š” ๊ฒฝํ–ฅ์„ ๋ณด์˜€๋‹ค. ์นจ์ง€ 2 4 ์‹œ๊ฐ„ ์ด๋‚ด์—๋Š” ํ•ฉ๊ธˆ ํ‘œ๋ฉด์—์„œ ๋ถ€๋™ํƒœํ™”(passivation) ๋ฐ ์žฌ๋ถ€๋™ํƒœํ™”(re-passivation) ๋ฐ˜์‘์ด ๊ตญ๋ถ€ ๋ถ€์‹๋ณด๋‹ค ์šฐ์„ธํ•˜๊ฒŒ ๋‚˜ํƒ€๋‚˜ ํ‘œ๋ฉด ์ €ํ•ญ์ด ์ฆ๊ฐ€ํ•˜๋Š” ๊ฒฝํ–ฅ์„ ๋ณด์˜€์œผ๋‚˜, 24 ์‹œ๊ฐ„ ์ดํ›„๋ถ€ํ„ฐ๋Š” ๊ตญ๋ถ€ ๋ถ€์‹์ด ์ง€๋ฐฐ์ ์ธ ๋ฐ˜์‘์œผ๋กœ ์ „ํ™˜๋˜๋ฉด์„œ ํ‘œ๋ฉด ์ €ํ•ญ์ด ๊ธ‰๊ฒฉํžˆ ๊ฐ์†Œํ•˜์˜€๋‹ค. ํŠนํžˆ, ์นจ์ง€ 300 ์‹œ๊ฐ„ ํ›„์—๋Š” ํ•ฉ๊ธˆ ํ‘œ๋ฉด์— ์ˆ˜๋ฐฑ ฮผm ํฌ๊ธฐ์˜ ๊ตญ๋ถ€ ๋ถ€์‹์ด ๋ช…ํ™•ํžˆ ๊ด€์ฐฐ๋˜์—ˆ๊ณ , ํ•ด๋‹น ๋ถ€์œ„์—๋Š” ์•Œ๋ฃจ๋ฏธ๋Š„ ์‚ฐํ™”๋ฌผ ๋ฐ ์ˆ˜์‚ฐํ™”๋ฌผ ํ˜•ํƒœ์˜ ๋ถ€์‹ ์ƒ์„ฑ๋ฌผ์ด ์ง‘์ค‘์ ์œผ๋กœ ํ˜•์„ฑ๋œ ๊ฒƒ์ด ํ™•์ธ๋˜์—ˆ๋‹ค. ์ด๋Ÿฌํ•œ ์ƒ์„ฑ๋ฌผ์€ ์ถ”๊ฐ€์ ์ธ ์ „๊ธฐํ™”ํ•™ ๋ฐ˜์‘์„ ์ด‰์ง„ํ•˜๋Š” ๋งค๊ฐœ์ฒด๋กœ ์ž‘์šฉํ•˜์—ฌ, ๊ตญ๋ถ€ ๋ถ€์‹์˜ ์ง€์†์ ์ธ ์ „ํŒŒ๋ฅผ ๊ฐ€์†ํ•  ์ˆ˜ ์žˆ์Œ์„ ์‹œ์‚ฌํ•œ๋‹ค. ๋ณธ ์—ฐ๊ตฌ๋ฅผ ํ†ตํ•ด UNS A93003 ํ•ฉ๊ธˆ์˜ ๊ตญ๋ถ€ ๋ถ€์‹ ๊ฑฐ๋™์ด ์นจ์ง€ ์‹œ๊ฐ„์— ๋”ฐ๋ผ ๋™์ ์œผ๋กœ ๋ณ€ํ™”ํ•จ์„ ๊ทœ๋ช…ํ•˜์˜€์œผ๋ฉฐ, ์ด๋Š” ํ–ฅํ›„ ํ•ฉ๊ธˆ์˜ ๋‚ด๊ตฌ์„ฑ ํ–ฅ์ƒ ๋ฐ ํšจ๊ณผ์ ์ธ ๋ถ€์‹ ๋ฐฉ์ง€ ๊ธฐ์ˆ  ๊ฐœ๋ฐœ์„ ์œ„ํ•œ ๊ธฐ์ดˆ ์ž๋ฃŒ๋กœ ํ™œ์šฉ๋  ์ˆ˜ ์žˆ์„ ๊ฒƒ์œผ๋กœ ๊ธฐ๋Œ€๋œ๋‹ค.

Notes

[1] ๊ฐ์‚ฌ์˜ ๊ธ€

์ด ๋…ผ๋ฌธ์€ 2025๋…„๋„ ์ •๋ถ€(์‚ฐ์—…ํ†ต์ƒ์ž์›๋ถ€)์˜ ์žฌ์›์œผ๋กœ ํ•œ๊ตญ์—๋„ˆ์ง€๊ธฐ์ˆ ํ‰๊ฐ€์›์˜ ์ง€์›์„ ๋ฐ›์•„ ์ˆ˜ํ–‰๋œ ์—ฐ๊ตฌ์ž„ (RS-2021-KP002514, ์ฒญ์ •๊ฐ€์Šค๋ณตํ•ฉํ™”๋ ฅ๋ฐœ์ „ ํ•ต์‹ฌ์š”์†Œ๊ธฐ์ˆ  ๋ฐ ๊ตญ์‚ฐํ™” ์ „๋ฌธ์ธ์žฌ์–‘์„ฑ). ์ด ๋…ผ๋ฌธ์€ 2025๋…„๋„ ๊ตญ๋ฆฝ์ฐฝ์›๋Œ€ํ•™๊ต์ค‘๊ฒฌ๊ต์› ์—ฐ๊ตฌ ์ง€์› ์‚ฌ์—… ์—ฐ๊ตฌ๋น„์— ์˜ํ•˜์—ฌ ์—ฐ๊ตฌ๋˜์—ˆ์Œ.

REFERENCES

1 
Nguyen T. D., Deng J., Robert B., Chen W., Siegmund T., Energy,244, 122580 (2022)Google Search
2 
Cioni D., Morin D., Strating A., Kizio S., Langseth M., Costas M., International Journal of Impact Engineering,192, 105029 (2024)Google Search
3 
Choi G. S., Kim Y. M., Park C. J., Corrosion Science and Technology,22, 305 (2023)Google Search
4 
Yoo Y. R., Kim D. H., Kim G. B., Won S. Y., Choi S. H., Kim Y. S., Corrosion Science and Technology,22, 322 (2023)Google Search
5 
Szklarska-Smialowska Z., Corrosion Science,41, 1743 (1999)Google Search
6 
Foley R. T., Corrosion,42, 277 (1986)Google Search
7 
Lu Q., Zhao Y., Wang Q., Li D., Metals,14, 196 (2024)Google Search
8 
Hu X., Gao K., Xiong X., Ding Y., Zhang X., Wei W., Nie Z., Yang Z., Zhou D., Journal of Materials Research and Technology,27, 1190 (2023)Google Search
9 
Liu Y., Meng G. Z., Cheng Y. F., Electrochimica Acta,54, 4155 (2009)Google Search
10 
Norouzi Afshar F., Glenn A. M., de Wit J. H. W., Terryn H., Mol J. M. C., Electrochimica Acta,104, 48 (2013)Google Search
11 
Norouzi Afshar F., de Wit J. H. W., Terryn H., Mol J. M. C., Corrosion Science,58, 242 (2012)Google Search
12 
Mansfeld F., Lin S., Kim S., Shih H., Werkstoffe und Korrosion,39, 487 (1988)Google Search
13 
Liu Z., Deng C.-M., Ji Y., Zhou D., Gao Z., Xia D.-H., Hu W., Electrochimica Acta,475, 143686 (2024)Google Search
14 
Bonnel K., Le Pen C., Pebere N., Electrochimica Acta,44, 4259 (1999)Google Search
15 
Baek M.-S., Euh K., Jeong C.-Y., Lee K.-A., Korean J. Met. Mater,58, 151 (2020)Google Search
16 
Davoodi A., Pan J., Leygraf C., Norgren S., Journal of The Electrochemical Society,155, C211 (2008)Google Search
17 
Ruan H. D., Frost R. L., Kloprogge J. T., Journal of Raman Spectroscopy,32, 745 (2001)Google Search
18 
Takano T., Matsuya H., Kowalski D., Kitano S., Aoki Y., Habazaki H., Applied Surface Science,592, 153321 (2022)Google Search
19 
Kwon H., Park Y., Nam U. H., Lee E., Byon E., Korean J. Met. Mater,61, 242 (2023)Google Search
20 
Lee Y.-J., Lee J.-S., Kwon S. I., Shin J., Cho Y. T., Kim S., Lee J.-H., Korean J. Met. Mater,61, 553 (2023)Google Search

Figures

Fig. 1.

Backscattered electron (BSE) image and elemental mapping results obtained via SEM-EDS of the surface of the UNS A93003 alloy after mirror polishing.

../../Resources/kim/KJMM.2025.63/kjmm-2025-63-10-757f1.jpg
Fig. 2.

(a) Backscattered electron (BSE) image and (b) elemental composition obtained from point analysis of intermetallic compounds in the UNS A93003 alloy using SEM-EDS.

../../Resources/kim/KJMM.2025.63/kjmm-2025-63-10-757f2.jpg
Fig. 3.

Potentiodynamic polarisation curves of UNS A93003 alloy measured in 0.5, 1.5, 3.5, and 5.0 wt% NaCl solutions at 50ยฐC.

../../Resources/kim/KJMM.2025.63/kjmm-2025-63-10-757f3.jpg
Fig. 4.

Variation in anodic current density of UNS A93003 alloy at selected overpotentials (+10โ€ฏmV and +20โ€ฏmV) in 0.5, 1.5, 3.5, and 5.0 wt% NaCl solutions at 50ยฐC.

../../Resources/kim/KJMM.2025.63/kjmm-2025-63-10-757f4.jpg
Fig. 5.

SEM-BSE images and EDS mapping of the UNS A93003 alloy surface after potentiodynamic polarisation in 5.0 wt% NaCl solution at 50ยฐC (terminated at 1โ€ฏmAยทcm-2).

../../Resources/kim/KJMM.2025.63/kjmm-2025-63-10-757f5.jpg
Fig. 6.

Bode plots obtained from electrochemical impedance spectroscopy (EIS) measurements of UNS A93003 alloy in 0.5, 1.5, 3.5, and 5.0 wt% NaCl solutions at 50ยฐC.

../../Resources/kim/KJMM.2025.63/kjmm-2025-63-10-757f6.jpg
Fig. 7.

Equivalent circuit model used to fit the EIS data presented in Fig. 5 for the UNS A93003 alloy in NaCl solutions

../../Resources/kim/KJMM.2025.63/kjmm-2025-63-10-757f7.jpg
Fig. 8.

Variation of surface resistance (Rsurface) of UNS A93003 alloy as a function of immersion time in 0.5, 1.5, 3.5, and 5.0 wt% NaCl solutions at 50ยฐC.

../../Resources/kim/KJMM.2025.63/kjmm-2025-63-10-757f8.jpg
Fig. 9.

SEM secondary electron images and corresponding EDS elemental mapping of the UNS A93003 alloy surface (a) before and (b) after 300 hours of immersion in 5.0 wt% NaCl solution at 50ยฐC.

../../Resources/kim/KJMM.2025.63/kjmm-2025-63-10-757f9.jpg
Fig. 10.

Raman spectra of the UNS A93003 alloy surface (a) before and (b) after 300 hours of immersion in 5.0 wt% NaCl solution at 50ยฐC.

../../Resources/kim/KJMM.2025.63/kjmm-2025-63-10-757f10.jpg